Fotografía incorporada por el SUP en su informe sobre espacio en vehículos.
El informe que revela que los policías nacionales no caben en sus nuevos coches patrulla
El Sindicato Unificado de Policía denuncia que los agentes tienen serios problemas en los 70 vehículos Toyota Prius+ que ha incorporado el Cuerpo.
Noticias relacionadas
- El suicida de Plaza Castilla acuchilló a su padre y a su tío antes de saltar al vacío
- Dos jóvenes, uno menor de edad, detenidos por violar a una mujer en Tenerife
- La cabeza de una mujer, encontrada en el horno de su casa: se sospecha de su hijo
- El enorme dispositivo de seguridad para el Atlético - Juventus: 1.200 agentes
- Un médico de Murcia detenido por segunda vez en un mes por abusos sexuales
La Dirección General de Policía informó el pasado mes de septiembre de la adquisición de 70 nuevos vehículos del modelo Toyota Prius+. Los coches ya han llegado a dependencias policiales y consigo han traído una fuerte polémica en el Cuerpo: los agentes dicen que, una vez incorporados todos los sistemas y equipamientos, el habitáculo es demasiado pequeño. Y que los policías que miden más de 1,80 metros tienen serias dificultades de movimiento.
El Sindicato Unificado de Policía (SUP), mayoritario en el sector, ha elaborado un informe que pone de manifiesto la carencia de espacio a bordo de estos vehículos. Son 17 páginas que recogen el marco normativo en este asunto, las mediciones de los coches, sus conclusiones y una serie de anexos gráficos.
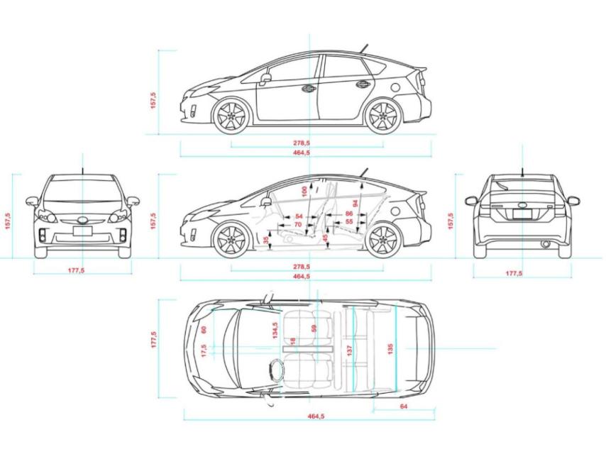
Según detalla el informe, en la zona del conductor hay un espacio de 70 centímetros, siempre que el asiento se coloque en su posición más retrasada. En la zona trasera, habilitada para el traslado de presos, el espacio es de 86 centímetros. El SUP sostiene que estos datos contravienen el Real Decreto 920/2017 sobre la inspección técnica de vehículos, así como el Manual de Reformas de Vehículos en su versión 4a de marzo de 2018, publicada por el Ministerio de Economía, Industria y Competitividad, en su apartado 8.21.
Medidas de los nuevos coche patrulla de la Policía Nacional.
"Denunciamos el sistemático incumplimiento, desde la Dirección General de la Policía, de la normativa relativa a la Prevención de Riesgos Laborales; en esta ocasión, con motivo de los nuevos vehículos radio patrulla con tecnología de última generación", señalan desde el SUP.
De los 70 nuevos Toyota Prius+, diez cuentan con un equipamiento adicional como vehículos Z, lo que supone "un sinfín de medios técnicos e informáticos, orientados al apoyo y mejora de las tareas policiales, desempeñadas por las patrullas de seguridad ciudadana".
La incorporación de todos estos medios, denuncia el SUP, suponen una configuración del habitáculo diferente a la habitual, lo que se traduce en problemas de espacio para los agentes.
Según el sindicato, esta "circunstancia se agrava si se tiene en cuenta el equipamiento propio de un policía uniformado, las ocho horas que permanece a bordo del vehículo cada jornada de trabajo, y las funciones operativas encomendadas".