Samsung finalmente patenta su propio notch… lateral

Samsung finalmente patenta su propio notch… lateral

Noticias y novedades

Samsung finalmente patenta su propio notch... lateral

Samsung se apuntará al notch pero no de la manera que podrías pensar. ¿Alguna vez has pensado en un notch lateral? Sí, existirá.

Publicada

Vivimos en una era en la que la fiebre de las pantallas casi sin marcos están a la orden del día. El logro ahora radica en hacer un panel que sea totalmente pantalla, sin marcos de ningún tipo. Aunque siempre hay ideas nuevas y frescas, las cuáles diferencian al fabricante del resto. Ahora Samsung quiere hacer lo suyo.

La firma con sus Galaxy ha sabido mantener el tipo y no ceder ante el todopoderoso notch o muesca. Pero al final iban a albergarlo, eso estaba claro. O eso refleja una patente de Galaxy Club, que nos habla de su primera patente de este notch. Aunque… no de la forma en la que creemos. Exacto: hablamos de un notch lateral.

¿Un Galaxy con un notch… lateral? Es posible con esta patente

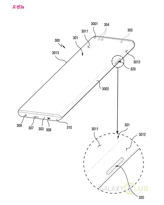
Al ver que los usuarios no es que estén demasiado contentos con el notch, los fabricantes están buscando más y más maneras de evadirlo o darle un nuevo enfoque, ya que este se suele situar en la parte superior de la pantalla, hogar donde tenemos todas las notificaciones. Los creadores de los Galaxy, mediante una patente descubierta en Club, poseen una patente que posicionaría este notch en el lateral.

¿Cómo funcionaría? Pensemos que todos los Galaxy S y Galaxy Note tienen una curvatura en los laterales. Esta curva acaba en un marco que a su vez se une al chasis. Samsung pretende con esta patente que este marco forme un notch donde estarán los botones de volumen, encendido y demás.

Pero esta patente va más allá. Este notch permitiría que los marcos laterales dejaran de existir más allá de este marco, y así que la relación de pantalla-cuerpo fuera todavía mayor. Además, esta patente también nos habla de que la pantalla respondería ante estas pulsaciones, otorgándonos un feedback en forma de animación.

Una idea que podría no convertirse en realidad

No es difícil imaginar la dificultad que nos traería este sistema. Además, no nos queda claro si esta idea sería demasiado estética; ¿te gustaría que en el borde lateral de tu pantalla hubiera marco sólo para tener unos pocos milímetros más de pantalla? Además, el notch aunque antiestético no cubre los laterales, sino los bordes superiores. Ver contenido en YouTube por ejemplo sería ridículo.

Muchas de las patentes que hay en el mercado no llegan a ser reales, sino que se registran bien para intentarlo cuando la tecnología lo permita o bien para impedir que otros fabricantes realicen esta idea después de que ellos lo hayan pensado. Os dejaremos una galería con las imágenes, pero no vamos a mentiros; vemos esta idea demasiado difusa.