Una nueva manera de utilizar el smartphone con una sola mano. Samsung la patenta

Una nueva manera de utilizar el smartphone con una sola mano. Samsung la patenta

Noticias y novedades

Una nueva manera de utilizar el smartphone con una sola mano. Samsung la patenta

Publicada

En el mercado de los smartphones existe la tendencia últimamente de hacer móviles con pantallas grandes, muchas veces más grandes de lo que nuestra mano puede llegar a manejar correctamente. Estas pantallas de más de cinco pulgadas son ideales para navegar, ver vídeos y jugar, pero hay momentos en que uno pierde un par de segundos en hacer algo que con una pantalla más pequeña no tendría problemas.

El Galaxy Note fue el dispositivo que puso de moda esta carrera por el tamaño. Si bien es cierto que el uso del S-Pen hace que nuestras manos tengan menos importancia, su uso por parte de quién tenía manos más pequeñas tuvo que ser solucionado con una interfaz especial reducida.

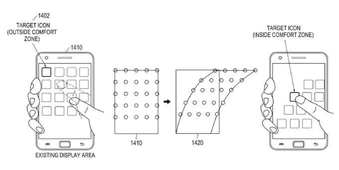
Samsung sigue pensando una manera de acomodar ese tamaño para todos y muestra una patente especialmente pensadas para interactuar con grandes pantallas con una sola mano. De acuerdo con esta patente, el sistema permite definir una zona de confort, básicamente aquella zona en la que los pulgares llegan. Las aplicaciones, iconos y widgets, se reducirían para amoldarse y trabajar con esa zona. La patente también está pensada para utilizarse en diversos ángulos y modo horizontal.

Una idea muy buena que no reduce el tamaño de la ventana como se hace en el Note3. La patente simplemente es un conjunto de ideas que de momento no está implementado en ningún dispositivo. Los requisitos para desarrollar esto tendrían que ser explorados por parte de los creadores de aplicaciones, pero sigue siendo una idea muy interesante.

Los gestos como estos y las zonas especiales amoldadas a tus dedos son una via por explorar que puede suponer un avance muy importante en la manera en como están diseñadas las interfaces móvil. ¿Creéis que llegará a buen puerto?

Via Übergizmo
Fuente Galaxy Club