Pixel Watch 2

Pixel Watch 2 Cristina Villarino El Androide Libre

Noticias y novedades

Lo último de Google puede acabar con el mayor problema de muchos smartwatches

Google ha patentado un nuevo componente para relojes o anillos inteligentes que aumenta la duración de la batería gracias a su eficiencia.

Publicada

Los smartwatches actuales son capaces de llevar a cabo tareas que eran impensables hace unos años, como por ejemplo el poder hablar con ChatGPT directamente desde la muñeca. En España hay una gran cantidad de dispositivos muy recomendables y que encajan con cualquier tipo de público, ya se busque uno de estos dispositivos para trabajar o hacer senderismo.

Sin embargo, hay dispositivos de este tipo que, a pesar de ofrecer grandes prestaciones, siguen contando con un inconveniente que limita su funcionamiento: la duración de la batería. Y es que, hay relojes que solo son capaces de ofrecer alrededor de dos o tres días de autonomía.

Ahora, Google ha registrado una patente se repercutiría directamente sobre este apartado y que podría aumentar el tiempo que se puede estar sin cargar el reloj inteligente. Todo gracias a la antena que muchos de estos wereables integran para poder comunicarse.

Nuevo diseño de antena

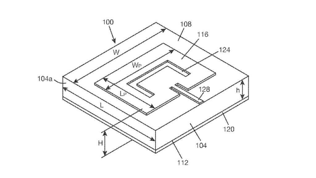
Google no cesa en su objetivo de mejorar el hardware de los dispositivos para competir con el resto de marcas Android, y el Pixel Watch podría ser uno de los próximos beneficiados por las innovaciones de la compañía. La antena, en este caso, sería la clave para mejorar la autonomía del dispositivo, según una nueva patente.

Esta, refleja el nuevo diseño de la antena que va en el interior del reloj, la cual se ha optimizado para que sea más compacta y eficiente en las comunicaciones. Además, utiliza componentes que permiten que pueda almacenar cierta cantidad de energía eléctrica, lo cual sumado a sus mejoras de rendimiento haría que la batería durara ligeramente más.

Patente antena Google

Patente antena Google El Androide Libre

Ocuparía una superficie inferior a los 8 mm por cada lado, lo cual también dejaría más espacio para optimizar la construcción interna de estos dispositivos. Una de las cosas interesantes que se mencionan es que se trata de un componente que también podría ser ideal para un anillo inteligente. Por el momento, no está claro si la compañía empleará esta nueva pieza en el futuro cercano en un reloj, o si bien se trata de algo que han hecho pensando en el futuro y en un posible anillo inteligente.

Te puede interesar