Google patenta nuevos móviles modulares: Project Ara sigue vivo

Google patenta nuevos móviles modulares: Project Ara sigue vivo

Noticias y novedades

Google patenta nuevos móviles modulares: Project Ara sigue vivo

Project Ara era un proyecto de móviles modulares que creíamos que había sido cancelado por Google. Las últimas patentes revelan que sigue vivo.

Publicada

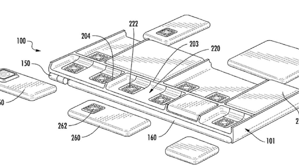
Hace unos años conocimos que Motorola estaba trabajando en unos móviles modulares en los que podríamos cambiar cualquiera de sus componentes. El departamento que lo llevaba a cabo, ahora bajo las filas de Google, demuestra que sigue trabajando en el proyecto, al haber publicado nuevas patentes de estos dispositivos.

Los móviles modulares siguen vivos

El departamento de tecnologías avanzadas de Motorola era una de las piezas más importantes de la compañía, o al menos eso era lo que pensaba Google. La gran G se hizo hace unos años con Motorola, desmenuzando la compañía y vendiendo los restos a Lenovo, fabricante que ha llevado las riendas desde entonces.

Junto a las patentes, Google se quedó con el departamento de tecnologías avanzadas, que a día de hoy conocemos como Google ATAP. Este departamento ha trabajado en todo tipo de proyectos (como la reciente chaqueta inteligente), pero sin duda hay uno que llamó mucho nuestra atención.

Project Ara pretendía llevar los beneficios del PC tradicional al mundo del smartphone. Una plataforma que prometía mucho, ya que nos permitía ir mejorando las piezas de forma individual, sin tener que cambiar el móvil. ¿Únicamente buscas rendimiento? cambia solo el procesador. ¿Mejor cámara? intercambia solo el módulo de la cámara.

Este proyecto ha pasado años de absoluto misterio. De vez en cuando aparecía información, para poco después volver a desaparecer y preguntarnos sobre si el proyecto tendría o no futuro.

Creíamos que Ara no volvería a aparecer, y en las últimas horas Google ha publicado varias patentes sobre este proyecto. No significa que piensen en lanzar un móvil modular, pero la existencia de estas patentes significa que existe un grupo de personas dentro de la compañía que siguen destinando su valioso tiempo en este concepto.

¿Tiene sentido el regreso de Project Ara?

El mercado de los smartphones ha cambiado mucho desde la última vez que tuvimos noticias de los smartphones modulares de Google. Los mejores terminales a día de hoy son ultracompactos y aprovechan hasta el último milímetro cúbico. Si hasta componentes como el jack de auriculares dejan de ser considerados para tener el mejor aprovechamiento interno posible.

Project Ara es más viable a nivel tecnológico, pero aún necesita encontrar su nicho de mercado.

Por muy bien que planteen Ara, nunca alcanzará las cotas de grosor y peso de un equipo ultracompacto, pero si que puede mostrarse como una plataforma prometedora para un nicho de mercado. A día de hoy, hay varios sectores del mercado que nos dejan pistas de que pueda ser una plataforma con futuro.

  • Si hacemos una analogía con el mercado de los PCs, en un mundo que parecía dominado por los Ultrabook y los componentes soldados en la placa base, los portátiles gaming con capacidad de ampliación han demostrado tener un nicho de mercado.
    • Es importante considerar que, aunque la idea de un equipo modular parezca atractiva por ahorro en precios, al tratarse de un equipo de nicho y especializado es posible que su precio pueda ser más elevado que un equipo convencional. Todo esto en el caso de que terminase llegando.
  • A nivel técnico, en estos años Google ha reducido drásticamente el acoplamiento de los componentes y el sistema operativo. Con Treble han hecho que los componentes y el sistema operativo vayan por separado, y para próximas versiones pretenden que el sistema sea más modular.
  • No olvidemos que con la oleada de equipos plegables se abre la veda para equipos profesionales. Un móvil que se convierte en tablet y que además se pueda mejorar en el tiempo sería una buena entrada de Google en el mercado empresarial.