Samsung Galaxy Z Flip 5

Samsung Galaxy Z Flip 5 Álvarez del Vayo Seúl (Corea del Sur)

Noticias y novedades

Así será el futuro de los móviles plegables según Samsung: una revolución que puede llegar con Galaxy Z Flip

Samsung ha registrado una patente de móvil plegable con pantalla flexible, con un formato muy diferente a los actuales.

Publicada
Actualizada

Los móviles plegables de Samsung son la referencia absoluta de este joven sector; todos los fabricantes siguen sus pasos, ya sea adoptando el formato del Galaxy Z Fold o el del Galaxy Z Flip. Aunque han existido algunos ‘experimentos’ que se han salido de la norma, no son muchos y no han tenido continuidad.

Parece que el sector está esperando a que Samsung se atreva a dar el siguiente paso en los plegables para continuar su camino; sin embargo, la compañía lleva ya cinco generaciones (y van a ser seis pronto) muy parecidas, cada una apenas una evolución respecto a la anterior. Cada nueva versión se ha centrado en mejorar aspectos como las pantallas, los bordes o la bisagra, pero el formato ha sido siempre el mismo; el Galaxy Z Fold tiene una pantalla grande interna, y una pantalla convencional externa, mientras que el Galaxy Z Flip tiene una pantalla normal interna y una pantalla pequeña externa.

Eso puede estar cerca de cambiar, si nos fiamos de una nueva patente que Samsung habría registrado y que @xleaks7 ha hecho pública en X (antigua Twitter). El documento registrado en los EEUU revela un dispositivo con pantalla flexible muy diferente a los actuales, y que puede ser el siguiente paso en móviles plegables.

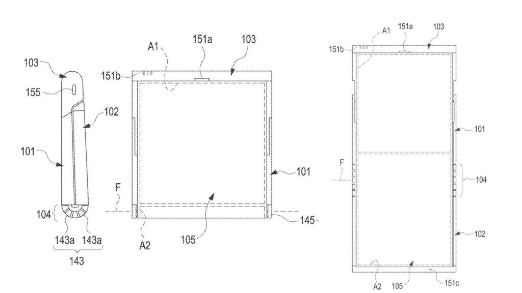
Al igual que el Galaxy Z Flip, el móvil del diseño patentado es de tipo de ‘concha’, y se cierra sobre sí mismo para ocupar menos espacio en el bolsillo o el bolso. La gran diferencia es que no usa dos pantallas, sino una sola que cubre casi toda la parte exterior del dispositivo. En efecto, la pantalla exterior se extendería por la zona de la bisagra hasta la trasera del móvil. Eso abre la puerta a muchas ventajas cuando tenemos el móvil cerrado, como acceso a apps y a más información sin tener que abrir el móvil.

Pero lo verdaderamente interesante llega cuando abrimos el móvil; como es de esperar, el dispositivo se convierte entonces en un móvil convencional, pero ahora llega el giro de guion: la pantalla también se puede extender. Por supuesto, esta no es la primera vez que vemos móviles con pantallas que se extienden; pero sí es la primera vez que vemos esa idea en conjunto con un diseño plegable. Este sería un móvil plegable y extensible al mismo tiempo, permitiéndonos usar tres tamaños de pantalla en un solo dispositivo: pequeña, normal y más grande. Todo ello, manteniendo un factor de forma tan pequeño como el del Galaxy Z Flip cuando el dispositivo está cerrado.

Diseño del móvil plegable y extensible en la patente de Samsung

Diseño del móvil plegable y extensible en la patente de Samsung Samsung | USPTO El Androide Libre

Otra gran ventaja de este sistema es que sólo usa una pantalla para ofrecer esos tres formatos diferentes; a diferencia del Galaxy Z Flip que necesita una pantalla para cada formato. Eso debería traducirse en unos costes de producción inferiores y con suerte, un móvil más barato. Por lo tanto, cuando el dispositivo se abre no hay una segunda pantalla y la trasera es como la de un móvil convencional, dejando sitio a las cámaras y a la carga inalámbrica.

Por el momento, este dispositivo sólo existe en forma de patente, y como es habitual, eso no significa necesariamente que Samsung lo vaya a fabricar. Pero puede ser una buena pista de cómo será el futuro de los plegables.