Tecnología

En vez de limpiaparabrisas, Tesla quiere usar rayos láser

La última patente de Tesla implica usar rayos láser para limpiar el parabrisas, algo que suena muy futurista pero que ya se hace en algunos sectores.

Publicada

Noticias relacionadas

El Cybertruck es sólo el principio. Tesla quiere seguir sorprendiendo a todo el mundo, haciendo realidad conceptos tan futuristas que nadie antes los ha intentado. Está por ver si tendrá éxito, pero como mínimo, consigue que hablemos de la compañía.

El último desarrollo tecnológico ideado por los ingenieros de Tesla también puede dar mucho que hablar si finalmente se implementa; se trata de una solución al gran problema de los limpiaparabrisas.

Los limpiaparabrisas apenas han cambiado desde que fueron inventados. Todos se basan en la misma idea, un mecanismo que mueve una varilla que pasa por la superficie del cristal, apartando residuos y agua.

Rayos láser para limpiar el parabrisas de tu Tesla

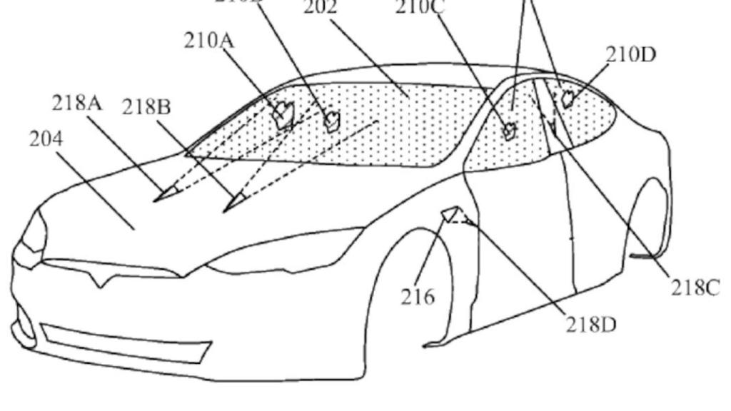
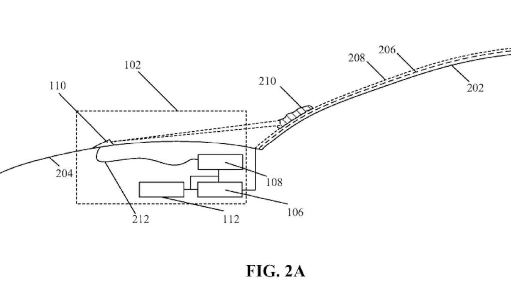
La idea de Tesla implica eliminar completamente este mecanismo y sustituirlo por rayos láser; los emisores estarían instalados en el capó del coche, apuntando directamente al parabrisas.

La patente, que ha sido aprobada y hecha pública esta semana, habla de un sistema de limpieza que usa dispositivos ópticos para disparar un rayo láser a una región concreta del cristal.

El disparador de rayos láser está asociado con un sistema de detección de partículas, por lo que es capaz de "atacar" directamente la zona afectada y nada más; el sistema calibra la potencia y los parámetros del rayo automáticamente para retirar el residuo. El rayo está calibrado para que no sea capaz de atravesar el grosor del cristal.

Un sistema semejante haría "desaparecer" la suciedad de nuestro parabrisas sin que nos demos cuenta, y sin tener que soportar el movimiento del limpiaparabrisas; algo que distrae a mucha gente. Sin embargo, es más probable que, al menos inicialmente, el sistema se use sólo para limpiar las cámaras necesarias para el Autopilot de los Tesla.

Los rayos láser ya se usan en limpieza en muchas industrias, especialmente para eliminar restos de óxido de piezas de metal; sin embargo, en esos casos el láser es mucho más potente y dañino para el ser humano. El láser de los Tesla sería poco potente, lo justo para quitar pequeños restos de suciedad. Por lo tanto, no es seguro que pueda sustituir completamente a un limpiaparabrisas completo.

Por el momento es sólo un concepto que ya ha sido patentado por Tesla; y por lo tanto, no significa necesariamente que lo vaya a implementar en sus coches. Todos los fabricantes patentan nuevas ideas constantemente, y sólo hacen realidad unas pocas; pero en el caso de los limpiaparabrisas, puede merecer la pena intentarlo.

La verdad es que los limpiaparabrisas son de esas cosas en las que no pensamos mucho; están ahí y cumplen su función. Sin embargo, eso no significa que no puedan mejorar.