Sensor de cámara curvo

Sensor de cámara curvo

Tecnología

Sensores de cámara curvados, la próxima revolución en la fotografía digital

La fotografía digital ya ve su próxima evolución: los sensores de cámara curvados. Aunque llevan existiendo poco, se espera mucho de ellos.

Publicada

Noticias relacionadas

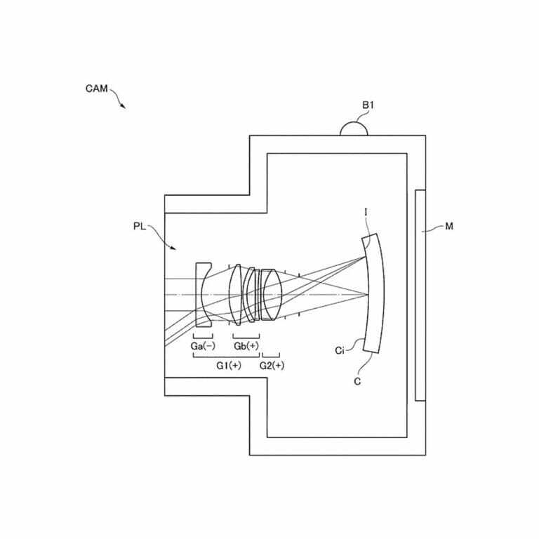
Si hablamos de fotografía digital como tal, seguramente cualquier experto os diga que se espera con mucha ansia a los sensores de cámara curvos. Estos se patentaron por Sony en el año 2017 (es decir, son jovencísimos) y no se exagera cuando se dice que serán algo grande en la industria. Pero, ¿qué son y por qué son tan importantes? No sólo porque muchos apostarán por esta tecnología, sino por sus virtudes.

Sensores de cámara curvos, el próximo gran avance en la fotografía digital

Sensor de cámara curvo 2

Sensor de cámara curvo 2

Estos sensores han ido haciéndose un hueco en la industria poco a poco. Primero fue Sony la que los patentó como decimos hace apenas 2 años, y posteriormente Nikon siguió el ejemplo al patentar el primer sensor de marco completo curvo. Y aunque Canon y Microsoft están manos a la obra en este aspecto, no hemos visto todavía ningún ejemplo de esta tecnología en el mercado. ¿Por qué?

Tenemos que poner algo de contexto. Como muchos sabréis, las lentes de las cámaras son curvas, y cuando la luz redonda golpea a un sensor de cámara cuadrado lo hace de manera desigual. Esto da como resultado una fotografía con poca nitidez, o al menos no toda la que debiera tener. Las mejoras en el desarrollo de la tecnología de las lentes de cámara han permitido a los fabricantes poder “solucionar” muchos de estos problemas causados por los sensores de imagen tradicionales. Uno de ellos por ejemplo ha sido agregar más vidrio a la lente para “corregir” la trayectoria de la luz.

No obstante, estos elementos ópticos adicionales crean una trayectoria más larga para la luz  y por ende se pierde más de esta en el proceso, lo que tampoco es bueno. La clave de los sensores de cámara curvos es resolver estos dos problemas a la vez. ¿Cómo lo hace?

canon eos rp camara 1

canon eos rp camara 1

Para empezar, gracias a su forma el cono de luz incide en todas las partes del sensor, así que tenemos esa falta de nitidez resuelta. Además, la necesidad de tener esos elementos “correctivos” desaparecen con el sensor curvo. Esto le da a la luz un camino más directo hacia el sensor, lo que significa que la lente que se usa con la cámara puede ser mejor en entornos con poca luz, dando así más luminosidad en la fotografía.

Por desgracia esta tecnología aún es emergente. Puede que tardemos en verla, en parte por su desarrollo y por otra parte por el coste prohibitivo que tendrán estos sensores en sus primeros momentos de vida. Una tecnología muy reciente que ha de amortizarse con todo el desarrollo e investigación que hay detrás. Pero sin duda las aplicaciones de esta tecnología darán como resultado una mayor calidad en la fotografía general acercando la calidad de la profesional a los bolsillos más pequeños (progresivamente).

Imagen de portada | Microsoft.