patente ford coche autonomo volante pedal extraible

patente ford coche autonomo volante pedal extraible

Tecnología

Ford patenta pedales y volantes que se pueden quitar en modo autónomo

Ford quiere que tu próximo vehículo autónomo tenga un volante y pedales extraíbles para que puedas poner o quitar el conjunto pedal-volante.

Publicada

Noticias relacionadas

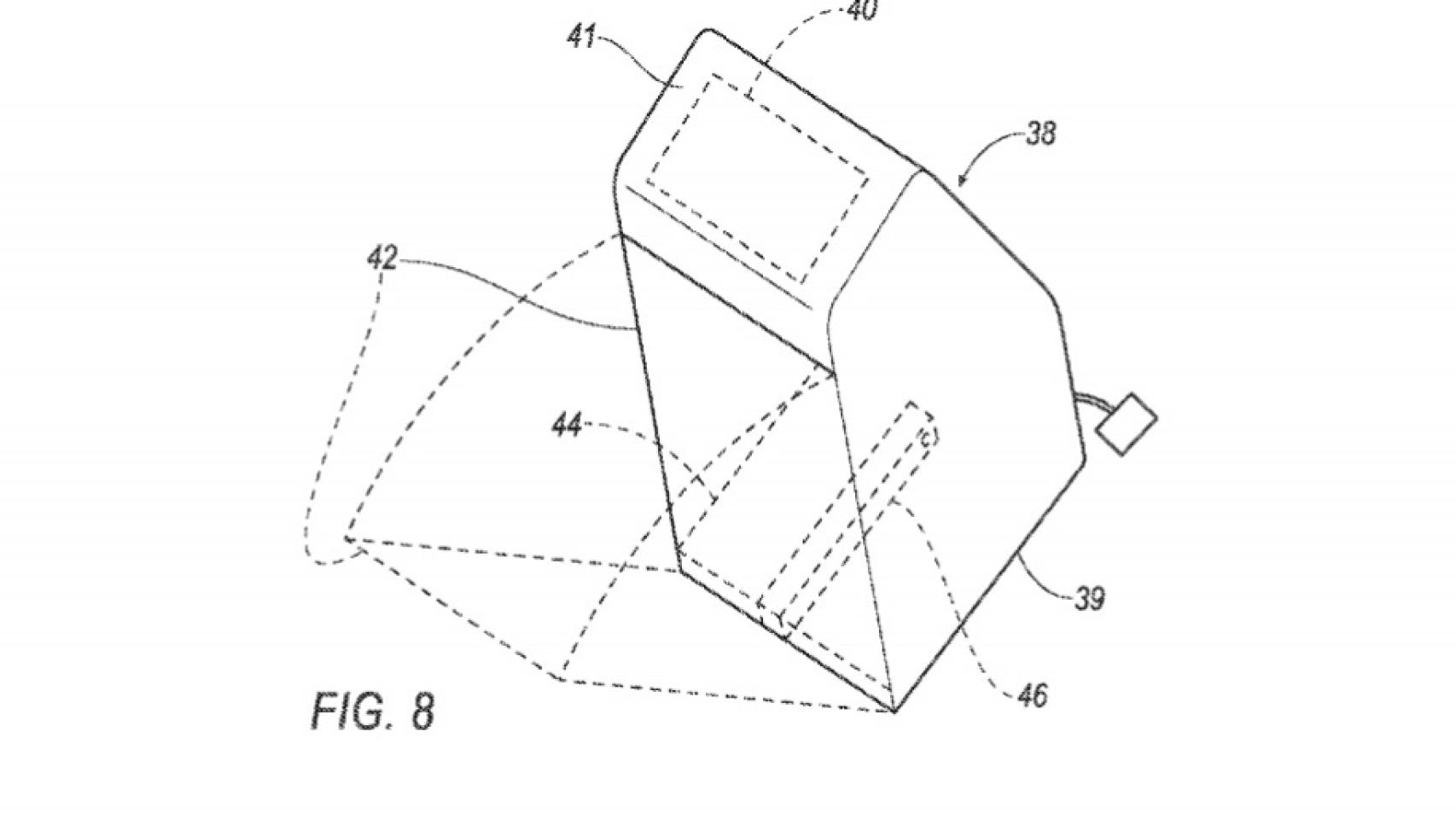
La nueva patente de Ford muestra un sistema con pedales y volantes desmontables para vehículos autónomos.

Los coches autónomos están cogiendo mucha carrerilla. Son como los eléctricos hace 10 años: aún estaban en desarrollo y muy poca gente podía disfrutar de ellos, sobre todo las empresas (por precio o por disponibilidad), pero a día de hoy el 38% de las nuevas matriculaciones son vehículos eléctricos.

En unos años lo más probable es que también comencemos a ver cómo suben las estadísticas de ventas de los coches autónomos. De momento, se podría considerar al Tesla Autopilot como el sistema comercial más cercano a conseguir la autonomía total, y solamente durante el primer trimestre de 2017 se matricularon más de 25 000 vehículos de este tipo (sin contar con los de las otras marcas).

El coche del futuro no tiene pedales ni volantes

Por el momento los pocos coches autónomos que hay cuentan con pedal y con volante. Es decir, son coches completamente funcionales, pues podemos conducirlos, pero tenemos la opción de pasar al modo autónomo.

patente ford coche autonomo 2

patente ford coche autonomo 2

La nueva patente de Ford, en cambio, propone un cambio de paradigma: ¿para qué incluir un volante y un pedal si el vehículo dispone de conducción autónoma? Realmente no se desterraría por completo al conjunto del pedal y volante, pero se podría extraer fácilmente, como si de la radio se tratase.

Según la propia Ford, el conjunto de pedal-volante extraíble se incluirá con «propósitos de desarrollo, y permite el suministro fácil de un volante como una opción solicitada por el cliente». Es decir, es el propio cliente quien elije si se incluye o no.

volante extraible coche autonomo ford

volante extraible coche autonomo ford

La patente fue solicitada en febrero de 2016, aunque no fue admitida hasta el 10 de agosto de este mismo año. No obstante, no se espera que se incluya este sistema en los próximos vehículos presentados, sino en un futuro.

Recordamos que Ford aún no ha lanzado comercialmente ningún vehículo autónomo, aunque podría hacerlo tras Toyota, quién se prevé que lo haga en los JJ.OO. de 2020 en Japón.