Patente de Microsoft.

Patente de Microsoft. USPTO / Microsoft

Omicrono

La tablet plegable de Microsoft tendrá líquido en su interior para que dure más

La tablet plegable de Microsoft tendrá líquido dentro.

Una patente muestra el dispositivo y su funcionamiento.

Existen muchas otras patentes de Microsoft.

Publicada

Noticias relacionadas

Hemos entrado (no del todo) en el mundo de los dispositivos plegables. No con muy buen pie, todo hay que decirlo; solo el periplo de los Samsung Galaxy Fold ha bastado para que se ponga en entredicho su durabilidad a largo plazo. Y no hay pocas voces que hablan del proyecto 'Centaurus', la posible futura tablet plegable de Microsoft.

Desde luego es difícil que veamos dicho dispositivo pronto por parte de la firma de Redmond. Pero ya hay patentes y bocetos de lo que podría convertirse en uno de los productos más revolucionarios de la compañía, y una nueva patente muestra una curiosa solución que Microsoft tiene en mente.

Meter líquido. Sí, como lo oyes; es difícil pensar en esto ya que de por sí estos dispositivos tienen una fragilidad mayor que sus variantes más normales, pero esta patente de Microsoft piensa en este líquido como una forma de aumentar la durabilidad de estos dispositivos. ¿Cómo?

La tablet plegable de Microsoft podría llevar líquido en su interior

Patente de Microsoft.

Patente de Microsoft. USPTO / Microsoft

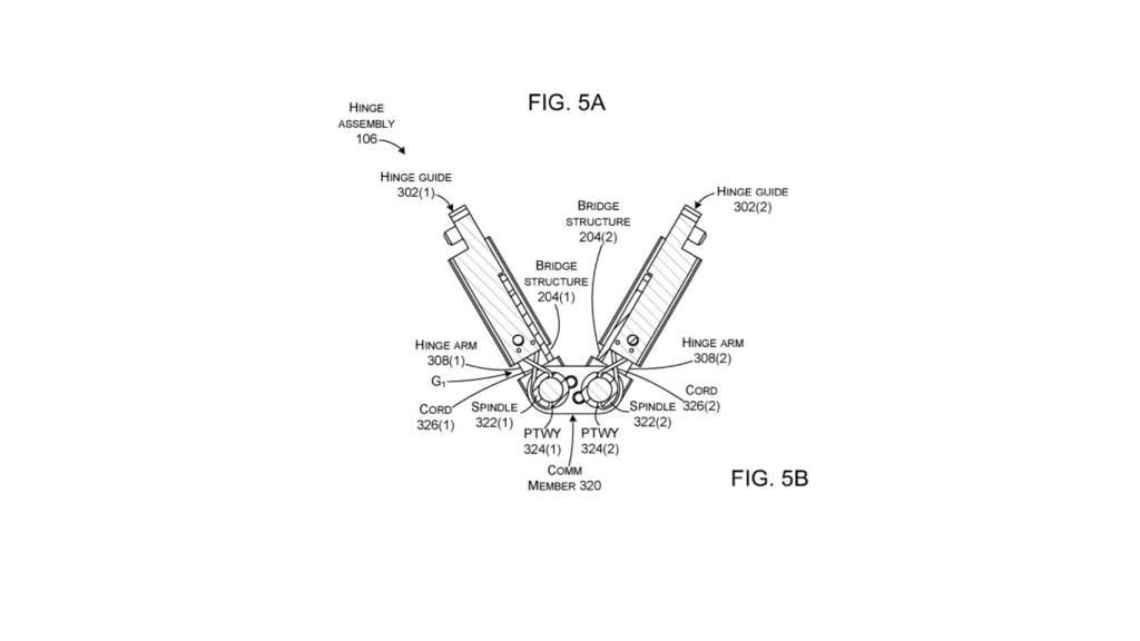
La patente que se ha publicado en la USPTO muestra al dispositivo y este curioso sistema de mantenimiento. El objetivo de este método sería ayudar a reducir el estrés que sufre la pantalla una vez se pliega durante la rotación, mejorando así su durabilidad.

Los dispositivos plegables, al menos los que ya hemos visto como el FlexPai o el Galaxy Fold no usan cristal sino una pantalla flexible de plástico, por lo que tenemos más posibilidades de rotura. A esto se le añade un sistema de bisagra que puede ser propenso a fallar con el tiempo o a desgastarse. Obviamente podremos encontrar reemplazos, pero por ahora es un problema del que no nos podemos librar.

Esta patente llamada 'HINGED Device’ muestra el funcionamiento de este sistema; el dispositivo tiene una parte central deformable rellena de líquido para que, al deformarse, la pantalla flexible pueda mantener un radio de curvatura mínimo.

USPTO / Microsoft

Según define Microsoft este sistema en su propia patente:

"El elemento que define la cavidad puede definir una o más cavidades que pueden contener un fluido 908. El elemento que define la cavidad puede ser cualquier tipo de material flexible, como varios polímeros, que sea impermeable a los fluidos (sella los fluidos dentro de la cavidad). El fluido puede ser cualquier tipo de gas o líquido. En la implementación ilustrada, el fluido es un fluido semi-viscoso que se mueve lentamente dentro de la cavidad a las temperaturas de funcionamiento del dispositivo. Por ejemplo, el fluido podría ser un aceite, como el aceite vegetal, entre otros fluidos".

Como es usual y normal en estos casos estamos ante una simple patente y no una prueba fehaciente de que veremos algo así. Lo hemos dicho muchas veces; estas patentes nos ayudan a ver el escaparate de ideas de las compañías y la forma básica de los productos que marcarán el futuro. Por lo que si vemos algo similar a esto, será poco o nada parecido a la patente.

Sin embargo, todo apunta a que Microsoft se quiere unir a la moda de los dispositivos plegables y quiere hacerlo teniéndolo todo bien atado. Quizás quede mucho tiempo (o no) para ver al 'Centaurus' de Microsoft nacer, pero sin duda será un evento digno de presenciar.

Vía | Windows Latest.