Tesla patenta un capó que protege a peatones en atropellos
El nuevo diseño busca mejorar la seguridad de los peatones.
El sonido de los Tesla y otros eléctricos también está pensado para los peatones.
No es la única medida en marcha.
Noticias relacionadas
Los Tesla son algunos de los coches más seguros del mercado, sin importar si los comparamos con coches de combustión o no. Las ayudas a la conducción como el Autopilot tienen buena parte de culpa en evitar accidentes, pero también es importante el propio diseño del coche.
Las pruebas de choque han demostrado que los ingenieros de Tesla han aprovechado que no hay un motor en la parte delantera del coche para crear una estructura que se puede plegar bajo el impacto, disipando energía que no irá al conductor.
Pero todas estas mejoras están dirigidas a mejorar la seguridad de los ocupantes; ¿qué hay de los peatones? También hemos visto muchos avances en esa dirección, tanto para la prevención como para la respuesta en caso de atropello.
El sistema de Tesla para proteger a los peatones
Ya hay muchos fabricantes que diseñan el frontal de sus coches para acomodar el cuerpo de un peatón en caso de atropello; entre las medidas más avanzadas hay capós con cargas explosivas para ponerlos instantáneamente en una posición que provoque menos daños sobre el peatón.
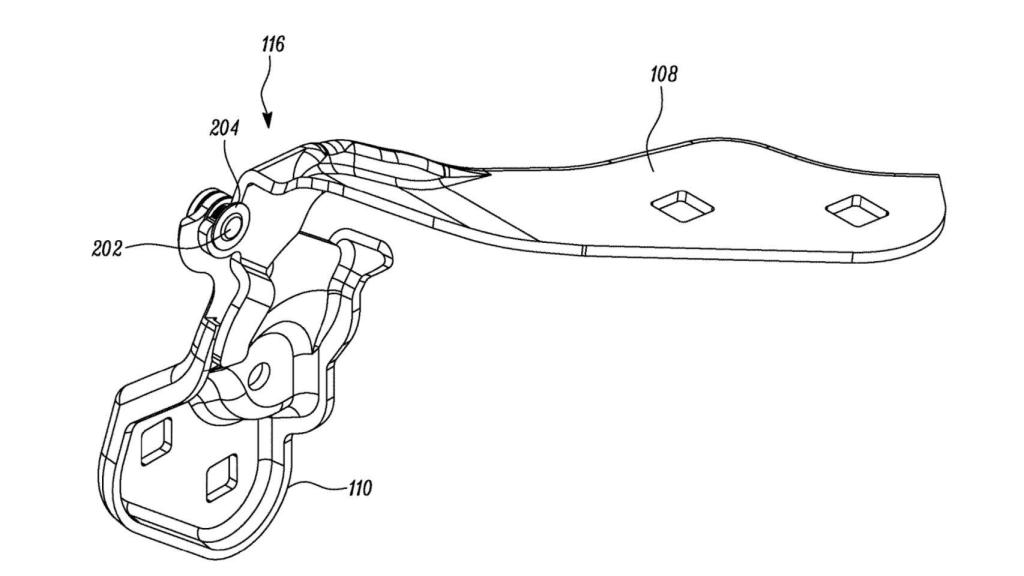
Pero ahora la última patente de Tesla puede demostrar que no es necesario idear mecanismos tan complicados. Los ingenieros de Tesla creen que, con su nuevo diseño de bisagra para capó, es posible hacer que este se mueva para recibir el cuerpo del peatón.
El sistema se basa en un mecanismo de pivote sobre el que descansa el capó. Cuando se produce una colisión, la porción del capó unida a este mecanismo puede deformarse para mover todo el capó a una posición menos dañina.
Lo interesante de este sistema es que sólo es mecánico; no usa sensores ni el ordenador de bordo del coche. Eso suena raro en una compañía tan avanzada tecnológicamente como Tesla, pero tiene mucho sentido. Eso es lo que permite que el cambio del capó sea instantáneo, y evitará posibles fallos en los sensores o falsos positivos.
Por el momento, no hay información de qué modelos recibirán este nuevo mecanismo primero, o incluso si lo recibirán. Como suele ocurrir con las patentes, este registro sólo significa que Tesla ha trabajado, o está trabajando, en un sistema similar, pero no garantiza que se vaya a hacer realidad.