Tesla crea una nueva dirección asistida que mejora la autonomía
Tesla crea una nueva dirección asistida que mejora la autonomía
El nuevo sistema de dirección asistida ha sido patentado por Tesla.
Tesla sigue trabajando en mejorar la autonomía con pequeños detalles.
La autonomía sigue siendo la protagonista.
Noticias relacionadas
Mejorar la autonomía de cualquier coche, sin importar si es eléctrico o de combustible, es más difícil de lo que parece. Sí, hay muchos métodos bien conocidos con los que se pueden ganar muchos kilómetros; el problema llega cuando has usado todos esos trucos, y sigue sin ser suficiente.
En ese caso, puede que empieces a fijarte en métodos que hasta ahora habías desestimado. Es lo que le está ocurriendo a Tesla, que después de años en los que se ha centrado en mejorar la autonomía de sus baterías ahora se está centrando en esos pequeños detalles.
No hace mucho hablábamos de las nuevas llantas aerodinámicas, que empiezan a estar disponibles en todos los modelos; la cantidad de kilómetros que ganaremos con ellas no será muy alta, pero a base de juntar estas pequeñas mejoras, el resultado final puede ser sorprendente.
La nueva dirección asistida de los Tesla
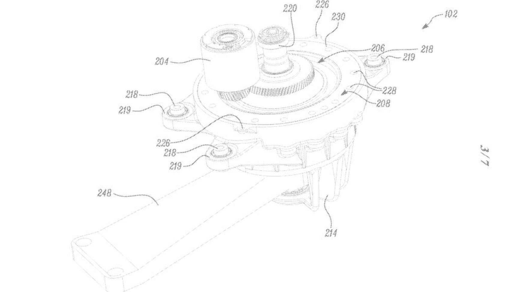
Ahora Tesla ha patentado otro de estos detalles que pueden parecer pequeños, pero que pueden tener una gran influencia en la autonomía. Hablo del nuevo diseño de dirección asistida que Tesla ha patentado; pero ¿cómo puede la dirección asistida mejorar la autonomía?
Para empezar, el nuevo sistema es más compacto y pesa menos. Eso ya supondría una mejora instantánea, ya que el peso total del coche se vería reducido; el peso es precisamente uno de los puntos débiles de los coches eléctricos, por las baterías. El espacio que se ahorraría podría dedicarse a otros sistemas, o a cambiar la estructura interna.
Pero además, la clave está en que esta dirección asistida es más eficiente; en otras palabras, necesita menos energía para funcionar. Los sistemas de dirección asistida nos ayudan a mover el volante; especialmente a bajas velocidades, la dirección puede ser muy pesada, y es algo que sabrá cualquiera que haya intentado aparcar con un coche con algunos años encima.
El sistema de Tesla incluye un nuevo motor y un nuevo diseño de eje de transmisión para mejorar la eficiencia. Esto, a su vez, se traduce en que hay que usar menos energía para mover el coche, por lo que se mejora la autonomía. ¿Cuánto? Tesla no lo dice en la patente, pero aunque no sea mucho, como hemos explicado, puede ser suficiente, como apuntan en Teslarati.