Cable Lightning

Cable Lightning

Hardware

Apple ha creado un cable que no se rompe, sin aumentar el grosor

La nueva patente de Apple registra una nueva idea para crear un cable que no se rompe con el uso, como es tan habitual con los cables Lightning del iPhone.

Publicada

Noticias relacionadas

Aunque Apple ya no incluye el cargador en los iPhone vendidos en España, al menos sigue metiendo un cable Lightning, necesario para usar el conector propio que usan sus dispositivos.

Apple se ha negado en redondo a meter USB-C en los iPhone, pese a las claras desventajas que ya tiene Lightning en comparación; como por ejemplo, la fragilidad.

Los cables Lightning siempre han sido más propensos a romperse, especialmente los lanzados durante los primeros años del estándar. El motivo era simple: la pieza de plástico de la conexión y el plástico blando del cable en sí rozan cada vez que lo doblamos, hasta que el segundo se rompe y el cable se deshilacha, dañando la conexión.

El cable que no se rompe

La solución parcial que Apple encontró fue hacer el plástico del cable más grueso, para que soportase mejor el uso contínuo; pero a fin de cuentas, eso sólo retrasa el momento en el que el cable inevitablemente se rompe, especialmente si lo usamos a diario. Muchos cables desarrollados por terceros añaden más protección en los extremos del cable, pero eso hace que no sea compatible con algunos periféricos, y es la razón por la que Apple no habría tomado la misma decisión.

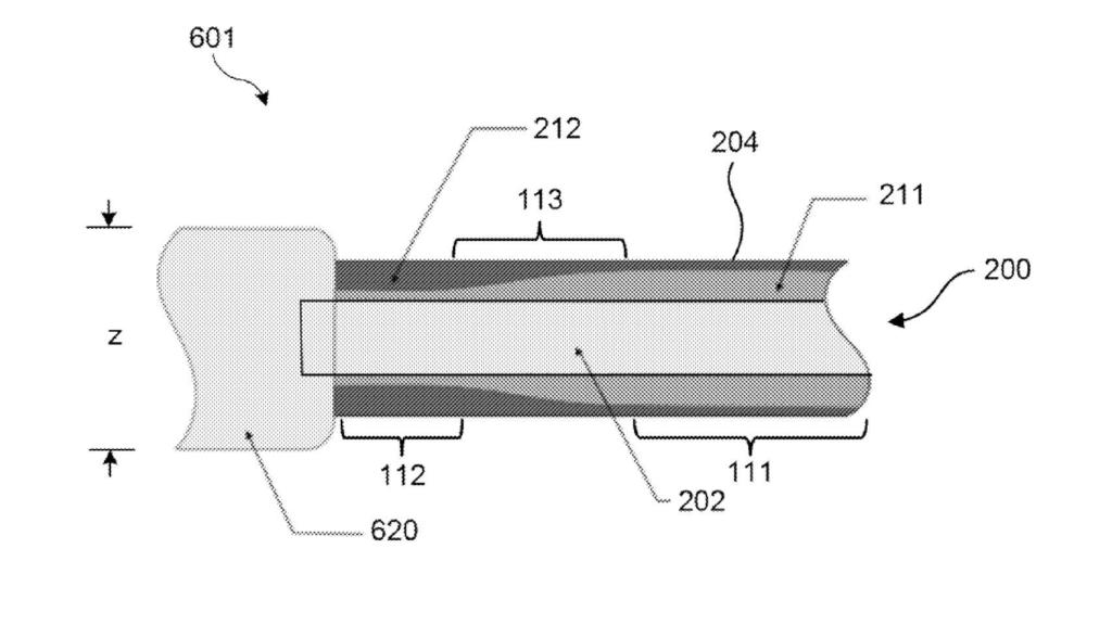
Apple quiere que el cable sea más fino, pero al mismo tiempo no quiere sólo meter una capucha de plástico duro más grande. La solución puede estar en una nueva patente de un "cable de rigidez variable", que ha sido registrada a nombre de Apple, como explican en AppleInsider.

La patente describe los mencionados problemas con los cables Lightning actuales; considera que la solución por la que optan la mayoría de fabricantes, añadir una pieza de material más rígido en los extremos del cable, no es ideal al hacer el cable más grueso.

Rigidez variable

En cambio, Apple propone que el extremo del cable esté formado por una "zona de alivio de tensión", de grosor progresivo que permite que el cable mantenga su flexibilidad y grosor.

Básicamente, el cable estaría compuesto por un núcleo en el que estarían los cables internos, y una capa exterior que se haría más rígida en las zonas más proclives a sufrir estrés.

El cable de rigidez variable de Apple

El cable de rigidez variable de Apple Apple | USPTO Omicrono

La clave para hacer realidad este cable parece estar en la elección de materiales; la patente repasa varias posibilidades pero no parece decidirse por uno concreto, por lo que probablemente en Apple aún no lo tengan del todo claro. La cuestión de cómo de rígido debería ser un cable, y cómo medimos esa rigidez, es una pieza central de la patente.

Aunque Apple abandone los cables para su próximo iPhone, aún tendrá que seguir usándolos en dispositivos como los cargadores MagSafe o los ordenadores MacBook, así que tiene sentido que esté investigando cómo protegerlos.

También te puede interesar...