microsoft andromeda plegable 1

microsoft andromeda plegable 1

Hardware

Microsoft apuesta por un móvil plegable para ofrecer pantallas más grandes

La nueva patente de Andromeda, el móvil plegable de Microsoft, presenta la idea de un teléfono con dos pantallas que se unen en una tablet.

Publicada

Noticias relacionadas

Aunque Windows Phone como plataforma esté prácticamente muerta, eso no significa que Microsoft haya dejado de investigar y desarrollar nuevos proyectos.

En 2016 parecía que el Surface Phone iba a hacerse realidad, pero finalmente Microsoft decidió centrarse en el software y en los servicios; de hecho, ni siquiera la gama Surface ha recibido mucho cariño en 2017.

Eso puede cambiar en el 2018 que entra, con el proyecto Andromeda; el teléfono plegable de Microsoft que permitiría incluir una pantalla enorme en un factor de forma típico de un smartphone.

Así sería el móvil plegable de Microsoft

La última patente publicada esta semana vuelve a reincidir en este diseño, que ya asomó las orejas como rumor hace un par de meses. Unos rumores que se han confirmado, y como mínimo podemos decir que Microsoft está interesada en hacer realidad este proyecto.

Y lo dice la propia compañía, que menciona la demanda por unas pantallas cada vez más grandes como la motivación principal detrás de Andromeda. Desde luego, este no es el primer smartphone plegable que hemos visto; este mismo año ZTE ha sorprendido a todo el mundo con el Axon M.

microsoft andromeda plegable 3

microsoft andromeda plegable 3

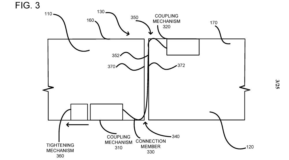
Pero al lado del Axon M, el Andromeda parece un concepto mucho más refinido; y todo gracias al innovador diseño de su bisagra, que permite separar dos pantallas y unirlas como una sola cuando abrimos el dispositivo. Así que normalmente, tendríamos la pantalla de un tamaño tradicional; pero si queremos disfrutar de las posibilidades de una tablet pequeña, sólo tendríamos que aprovechar el diseño de la bisagra.

microsoft andromeda plegable 2

microsoft andromeda plegable 2

Este diseño es una respuesta a las tendencias del mercado, en el que las pantallas son cada vez más grandes. Pero ya hemos llegado a un punto crítico, en el que los dispositivos son difíciles de usar con una mano, o que no caben en nuestros bolsillos. Usar dos pantallas que se unen en una sola convertiría nuestro móvil en una tablet; y lo mejor, sin la necesidad de crear una sola pantalla de gran resolución.

microsoft andromeda plegable 4

microsoft andromeda plegable 4

Por el momento, Microsoft no ha anunciado ningún dispositivo basado en Andromeda; aunque el texto de la patente refleja el gran interés que la compañía tiene por un concepto semejante.

Sin embargo, si Microsoft finalmente decidiese crear un Surface Phone plegable, ¿usaría Windows Phone? Cada día que pasa, eso es menos probable. En los mentideros se habla de la posibilidad de un móvil Microsoft con Android; no sería tan raro, teniendo en cuenta que la compañía ya ha lanzado mucho software en el sistema de Google.