samsung galaxy s7 edge canto mini jack 3,4 milimetros destacada

samsung galaxy s7 edge canto mini jack 3,4 milimetros destacada

Hardware

Microsoft puede ser la salvadora del jack de audio, al hacer que ocupe la mitad de espacio

Publicada

Noticias relacionadas

La desarrolladora de Windows ha encontrado la manera de hacer que el mini-Jack ocupe menos espacio.

El mini-Jack es una de esas cosas que estaban destinadas a morir desde hace tiempo. Ya no solo porque sea un cable, sino porque además es inútil, pues tenemos la tecnología suficiente como para desarrollar auriculares inalámbricos con la autonomía suficiente como para durar una jornada completa. Es como el lector de CD’s de los ordenadores: hace muchos años comenzó a desaparecer, y ya son muy pocos los que lo traen de fábrica.

El fabricante más importante que lo eliminó por primera vez de la ecuación fue Apple con su iPhone, y desde entonces, otras firmas de teléfonos móviles se han sumado a la ‘moda’; entre ellos, por supuesto, tenemos a Samsung.

El argumento que han emitido muchos fabricantes para eliminarlo ha sido el espacio, pues, para reducir el grosor del teléfono, era necesario. En el iPhone, al menos, está más que comprobado ya que sí que cabe. Pero ahora, gracias a los aportes de Microsoft, esta excusa se queda atrás, y podría llegar a hacer a muchos fabricantes volver a incluirlo.

Microsoft ha encontrado la manera de colocar el mini-Jack en la mitad de espacio

Lo que quiere Microsoft es que los teléfonos sigan teniendo mini-Jack, pero ocupando la mitad de espacio. Su idea es muy simple: un conector mini-Jack que cambie de tamaño en función de si tiene algo conectado o no. Estando en reposo, el mini-Jac ocupa menos espacio de que debería (la mitad, concretamente). Estando en uso, ocuparía el espacio que debería.

Sería como el bolsillo del pantalón: si no está en uso, estando en reposo, no ocupa espacio; pero si está en uso, si tiene cosas dentro, ocupará un mayor volumen.

patente microsoft mini jack 3,5 milimetro auriculares

patente microsoft mini jack 3,5 milimetro auriculares

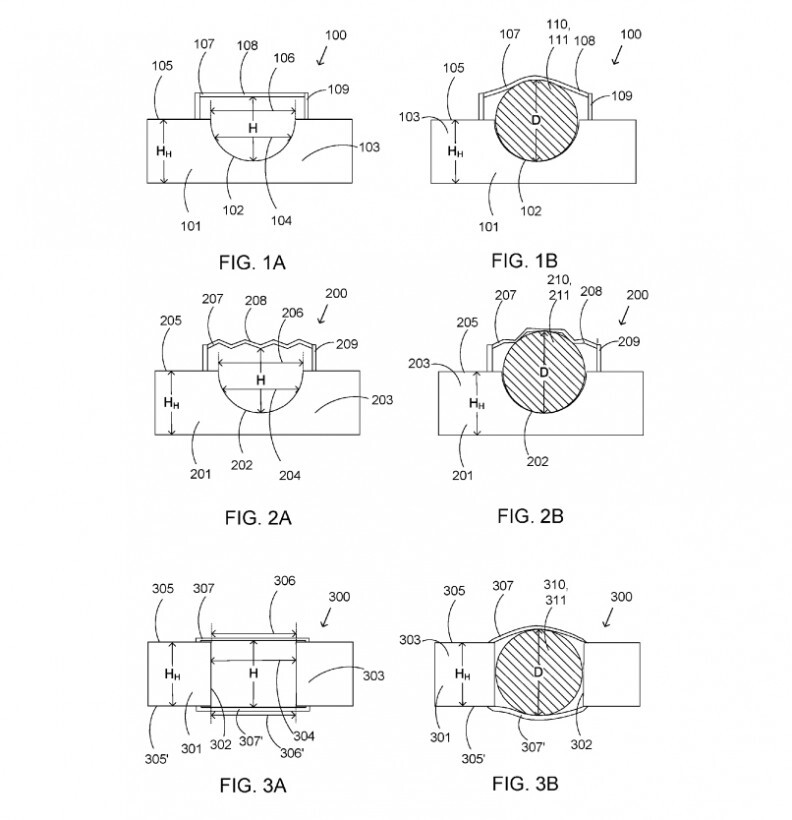
La compañía de Redmond ha propuesto en concreto tres métodos distintos: en la primera se usa una membrana elástica; otro con un material elástico plisado (con pliegues); y el último con un material más rígido que se expande tanto por la parte superior como por la parte inferior.

patente microsoft mini jack 3,5 milimetro auriculares ilustracion

patente microsoft mini jack 3,5 milimetro auriculares ilustracion

En la imagen superior vemos los tres métodos explicados gráficamente. Los tres permitirían incluir el mini-Jack de 3,5 milímetros típico de cualquier smartphone y al mismo tiempo ahorrar espacio para hacer más delgado el teléfono.

Es probable que esta patente nunca se haga realidad (Microsoft no fabrica teléfonos, y ningún fabricante podría estar interesado en esto), pero deberíamos darle las gracias a Microsoft, pues gracias a ella quizás puedas volver a usar tus auriculares con cable en tu próximo teléfono.