Google patenta un portátil con ranura para smartphone, ¿Android y ChromeOS juntos?

Google patenta un portátil con ranura para smartphone, ¿Android y ChromeOS juntos?

Noticias y novedades

Google patenta un portátil con ranura para smartphone, ¿Android y ChromeOS juntos?

Publicada
Actualizada

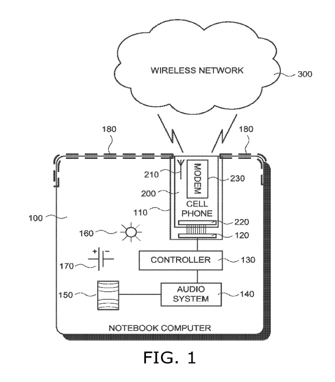
Asus fue uno de los primeros fabricantes en crear dispositivos híbridos totalmente funcionales con sus Padfone. Google puede estar detrás de algo similar, o eso parece si echamos un vistazo a la patente que les fue concedida a los del buscador el pasado mes de febrero. La patente número 8.649.821 en EEUU describe un dispositivo que combina un ordenador portátil y un smartphone, un concepto muy interesante del que se ha hablado en más de una ocasión.

La unión de los caminos de Android y ChromeOS parece, a ojos de muchos, algo que ocurrirá tarde o temprano y, aunque en esta patente no se indica nada, quién sabe si sería el primer paso. No es difícil pensar que esa es la idea que tenían en la cabeza los ingenieros de Google, ya que la patente fue presentada allá por 2012.

¿Un combo Android + ChromeOS?

Básicamente se trata de un ordenador portátil capaz de utilizar las conexiones inalámbricas del teléfono para poder conectarse en cualquier lugar a internet. Del mismo modo, podría usarse el terminal como auricular y micrófono en llamadas VOIP y si el smartphone está insertado en el cuerpo del notebook, éste serviría como amplificador y por supuesto, como batería externa, similar al Motorola Atrix Lapdock

Los bocetos adjuntos a la documentación de la patente indican que habría un compartimento para el smartphone dentro del portátil, pero a diferencia de la línea Padfone, los de Google sí podrían funcionar de manera independiente, ya que cada uno dispone de sus propios componentes y no hay una base y un terminal central. De esta forma sería mucho más costoso para el usuario, ya que tendría que comprar dos gadgets más caros y sólo compatibles entre ellos.

Por supuesto, esto son sólo conjeturas, ya que ni tan sólo se trata de un prototipo, es una patente y las posibilidades son amplias. Lo que sí indica es que ChromeOS y Android tienen posibilidad de unirse y formar una sóla plataforma. Si Google consigue adaptarlos y crear una base común, las posibilidades resultantes pueden ser muy atrativas.

Vía | Oficina Patentes EEUU | AndroidPolice