Espectáculo de Frozen en Disneyland  Paris

Espectáculo de Frozen en Disneyland Paris Disney Enterprise Omicrono

Tecnología

Hologramas con los que hablar: así quiere Disney personalizar la visita a los parques de atracciones

Una nueva patente de Disney plantea usar proyecciones 3D para crear experiencias personales para cada uno de los millones de visitantes que acceden a sus parques.

Publicada

Noticias relacionadas

Los parques de atracciones de Disney han sido durante décadas el huerto perfecto para cultivar nuevas tecnologías. Sus ingenieros, los imagineering que diseñan las atracciones, trabajan actualmente en la creación de animatronics más realistas, así como en espectáculos más inmersivos y personales que consigan hacer única la experiencia de cada visitante.

Encontrar una proyección de la princesa Leia paseando de Star Wars: Galaxy's Edge, la nueva zona dedicada al universo de George Lucas, y poder interactuar con ella en forma de holograma es un sueño para muchos fans de la saga. Esta idea es la que proyecta, nunca mejor dicho, una nueva patente de Walt Disney Entreprise.

La Oficina de Patentes de EEUU aprobó la patente en la que se describe un Simulador del mundo virtual, o dicho con otras palabras, proyecciones en 3D lugares reales del parque que persiguen crear momentos únicos para un solo visitante. Una innovación que sumada a otras como la inteligencia artificial y sistemas de seguimiento podría significar conocer a tu personaje favorito de una forma mucho más auténtica.

Escena de Star Wars con el holograma de Leia

Escena de Star Wars con el holograma de Leia

Proyecciones en 3D

La fábrica de princesas y superhéroes ya utiliza proyecciones 3D en espectáculos como World of Color sobre chorros de agua en California, o sobre el castillo de la Bella Durmiente en Disneyland París. Sin embargo, estos grandes espectáculos están dirigidos a multitudes, mientras que la tecnología descrita en la patente se enfoca en individuos o pequeños grupos.

La patente habla de un "simulador del mundo virtual" basado en un sistema de rastreo y un equipo informático capaz de crear proyecciones en 3D. El dispositivo contaría con un sistema de mapeo que analizaría la geometría del lugar y crearía efectos virtuales sobre ese punto. "Utilizar el sistema de seguimiento para medir los movimientos y la perspectiva de un usuario" dice la patente, que sugiere colocar una cámara en ese punto del parque.

Diseño patentes hologramas Disney

Diseño patentes hologramas Disney Walt Disney Co. Omicrono

La descripción es muy vaga, así como los bocetos que la acompañan, pero de ellos se desprende que los ingenieros podrían tratar de analizar los gestos de los visitantes para generar una reacción acorde en la proyección. Esta tecnologías podría permitir a los imagineering ofrecer a cada visitante una interacción personal y practicamente única con un sin fin de personajes o mensajes proyectados y que no requiere del uso de gafas de realidad virtual ni las cámaras de los móviles, según se explica en el documento.

Al caminar por los muchos recovecos de, por ejemplo, Fantasyland (el área dedicada a los cuentos de hadas), ante ti aparece la figura de una de las princesas proyectada en 3D, te habla a ti, reacciona contigo con más o menos acierto y posa para que te puedas hacer fotos y vídeos con ella con los que llenar las redes sociales.

Espectáculo World of Color de Disney

Espectáculo World of Color de Disney Disney Enterprise Omicrono

Esta experiencia, además de ser más privada y personal, evitaría las inmensas colas que se forman para hablar con alguno de los personajes que es posible encontrarse por el parque, actores caracterizados que deben atender a un buen número de personas al mismo tiempo. No significa que Disney se esté planteando sustituirlos por estas simulaciones, lo nuevo podría complementar a lo clásico.

Aunque la tecnología para proyectar imágenes en objetos se ha convertido en la base de muchos espectáculos por todo el mundo y una forma de ver el cine en casa, las proyecciones en 3D o los hologramas no son tan comunes. En los últimos años, se han visto con más frecuencia en televisión permitiendo hacer entrevistas a distancia y que parezca que entrevistado y periodista están en la misma sala, incluso Google está trabajando en un sistema de videollamadas con hologramas, pero el equipo necesario aún es muy aparatoso para esconderlo entre los decorados. 

Proyección sobre Tower of Terror en Disney

Proyección sobre Tower of Terror en Disney Disney Enterprise Omicrono

Estos avances ayudan a extender la técnica por todo el mundo, facilitando que Disney se planté usarla o desarrollar la suya propia, como ya hizo con otras innovaciones en su momento. Cuando los programas de simulación estaban restringidos a un uso militar para entrenar pilotos, la compañía supo ver su potencial y lo traslado a una de sus atracciones de mayor éxito en 1987, Star Tour, inspirada en los viajes espaciales de Star Wars.

Rastreando a los visitantes

En la descripción del informe se menciona el rastreo de los móviles, con ello se sigue al visitante en su recorrido por las atracciones y se puede transmitir su información a los dispositivo de proyección ubicados en la zona. Esto se podría conseguir con las actuales aplicaciones que se usan para reservar mesa en los restaurantes de los parques o acceso a las atracciones sin tener que hacer mucha cola y así evitar aglomeraciones como medida sanitaria.

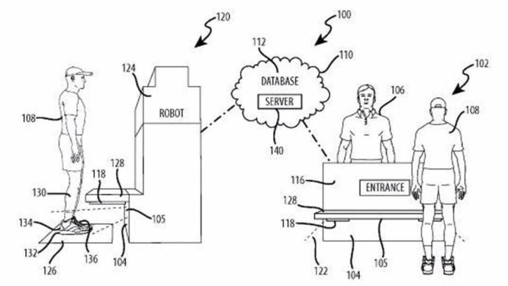
Antes de que la pandemia modificara gran parte de la organización del parque, Disney ya había pensado en otro sistema de rastreo, observando los pies de los visitantes. En 2016, recuerda Los Angeles Times que otra patente presentada por la compañía hablaba de un sistema de reconocimiento para analizar y registrar los pies y el calzado de los huespedes.

Dibujos patente Disney para rastrear los zapatos

Dibujos patente Disney para rastrear los zapatos Disney Omicrono

A la entrada del parque se relaciona la imagen del calzado con información como la edad o nacionalidad de esa persona. Esta información sirve después a las cámaras dentro de los parques que están enfocadas al suelo y reconocen cuando esa persona está paseando por una zona determinada.

No hay ninguna información que indique que este peculiar mecanismo de reconocimiento para pies se haya puesto en marcha. Suzi Brown, portavoz de Disney, explicó por aquel entonces a Los Angeles Times que "en nuestro esfuerzo continuo por innovar sin descanso y ampliar los límites de la creatividad y la tecnología para crear experiencias inmersivas y un servicio al cliente legendario, presentamos muchas patentes anualmente, algunas se concretan y otras no". 

Pulsera de los parques Disney

Pulsera de los parques Disney Disney Enterprise Omicrono

La tecnología ha evolucionado desde el 2016 y Disney ya no necesita fijarse en los zapatos de sus visitantes para reconocerlos y seguir sus movimientos por sus reinos mágicos. El gigante del entretenimiento ha comenzado a probar el uso del reconocimiento facial en 2021 en Magic Kingdom en Florida.

También cuenta con pulseras digitales que los visitantes pueden comprar para abrir sus habitaciones en los hoteles o acceder a algunas zonas y actividades dentro de sus terrenos. Con estos sistemas de rastreo podría individualizar los espectáculos y trucos dentro de los parques, siempre que los usuarios accedan a dar esos datos.

De momento, son solo ídeas plasmadas en patentes que puede quedar olvidades en un cajón de los estudios Disney, muchas acaban así. Pero reflejan en gran medida la visión de futuro que proponen los responsables y desarrolladores de estos mundos fantásticos, sus aspiraciones por conocer más al usuario y transformar esa información en una vivencia única.

También te puede interesar...