apple watch apple pay pagos moviles
Apple quiere convertir el iPhone y el Watch en un DNI, pasaporte y carnet de conducir
Una nueva patente muestra cómo Apple quiere convertir el iPhone y el Watch en un DNI, pasaporte y carnet de conducir.
Noticias relacionadas
- Los datos de casi todos los ciudadanos de Bulgaria han sido robados
- Los podcasts originales de Apple están cerca, ¿debería temblar la competencia?
- El nuevo MacBook Air tiene un SSD mucho más lento que el modelo anterior, ¿Apple lo ha vuelto a hacer?
- El inventor de la contraseña en los ordenadores muere a los 93 años
Apple quiere que usemos el iPhone para todo, que sea un dispositivo sin el que no podamos vivir. Si ya un iPhone equivale a una tarjeta de crédito/débito, ahora también quiere sustituir tanto al DNI como al carnet de conducir. Y esto, mediante el mismo método que los pagos móviles: mediante un chip NFC dedicado exclusivamente a ello.
El chip, que contendría la información emitida por las autoridades estatales, donde se incluya la misma información que en un DNI regular, podría ser leído tal y como cualquier otro documento; pero esto último solo si el usuario quiere, pues tendrá que poner su huella en el TouchID, su cara en el sensor de FaceID o el PIN o contraseña.
Apple quiere que el iPhone sea el DNI, el pasaporte y el carnet de conucir
Si se verifica mediante estos sistema de biometría que se trata de la persona, el sistema entregaría los datos clave, como su nombre, apellidos, domicilio, sexo, edad y otros datos de interés. Esto en el caso del DNI o pasaporte, pero también se podrían entregar los datos del carnet de conducir o de otras documentaciones.
patente apple dni pasarpote iphone
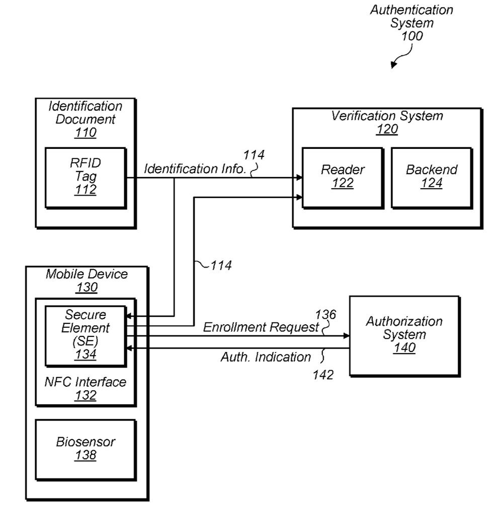
Ahora, una patente ha revelado los planes de Apple para que esto se haga realidad. En ella, concretamente, se detalla el sistema mediante el uso de un chip NFC o RFID, o lo que comúnmente se conoce como traspaso de datos a corto alcance y sin contacto; no solo en el iPhone, sino también en el Apple Watch. Todo esto, motivado por la cada vez mayor presencia de pasaportes electrónicos, más conocidos como e-Passports.
La patente, que fue registrada en la Oficina de Patentes y Marcas Comerciales de los Estados Unidos el 30 de marzo y publicada el pasado 2 de agosto, describe el lado técnico desde la implementación, pero se deja de lado una parte muy importante: para que esto funcione, y puedas usarlo, por ejemplo, en un aeropuerto, Apple tendrá que tener tanto el respaldo del país desde donde se sale hacia donde se entra.
Pero no tiene por qué ser útil solo para atravesar un aeropuerto, sino también para entidades privadas. Por ejemplo, la autentificación de empleados dentro de una empresa. De este modo, cada vez que un empleado llegue al trabajo, se identifique mediante este método. Estamos seguros de que en un futuro los DNI no existirán y serán todos virtuales (si no estarán incrustados en la muñeca, claro), pero primero tendremos que combatir contra las legislaciones.