apple teclado 2

apple teclado 2

Tecnología

El teclado resistente a las miguitas, el último ingenio de Apple

La última idea de Apple salida de las patentes estadounidenses es un teclado resistente a las miguitas, gracias a dos métodos diferentes.

Publicada

Noticias relacionadas

Si eres como yo y te ves en la obligación de comer delante del ordenador, es muy probable que tu teclado oculte una insana cantidad de porquería; en concreto, las miguitas son expertas en meterse entre los huecos de las teclas, y no salir incluso si ponemos el teclado boca abajo.

Con el tiempo, esto deja de ser motivo de broma, y nos puede obligar a comprarnos un teclado nuevo; el líquido y los trozos de comida pueden interponerse en contactos eléctricos, hacer que los mecanismos se peguen o bloquear el recorrido de las teclas.

El teclado resistente a las miguitas de Apple tiene que hacerse realidad

Nuestros días de quitar teclas para limpiar el teclado puede terminarse gracias a una nueva patente otorgada a Apple recién publicada. Sí, podríamos tener más cuidado o dejar de comer encima del teclado, pero ¿para qué cambiar nuestros hábitos cuando la tecnología puede avanzar para adaptarse a ellos?

teclado patente apple 1

teclado patente apple 1

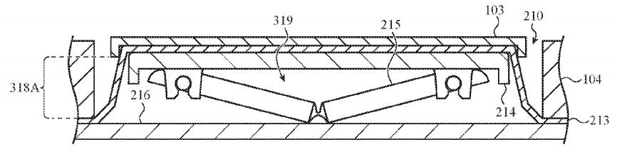
La patente introduce no una, sino dos maneras diferentes en las que la suciedad puede quedar fuera del teclado; esto debería darnos una pista de que no es una patente registrada a la ligera. Nos gusta imaginarnos a un ingeniero de Apple comiéndose un bocata de chorizo encima del teclado y apuntando los resultados.

teclado patente apple 2

teclado patente apple 2

El primer método consiste simplemente en sellar los posibles huecos en los que podría entrar la suciedad; pese a su simpleza, puede ser efectivo. El segundo método es algo más complejo, e implica instalar una membrana en cada tecla; cada vez que pulsemos una tecla, provocaríamos que la membrana soplase aire, expulsando el polvo y los trozos indeseados de nuestro teclado.

teclado patente apple 3

teclado patente apple 3

Es difícil decir si estos desarrollos se convertirán en un producto real; al fin y al cabo, la patente tiene fecha de 2016, aunque es ahora que se ha hecho pública. Puede ser otra más de esas patentes que Apple se guarda en el cajón por si algún día son útiles; o puede ser la primera pista de que el Apple Keyboard recibirá una evolución. Sea lo que sea, voy a picar algo.