sangre

sangre

Tecnología

Pronto podrías identificarte usando tu flujo sanguíneo, según una patente de Samsung

Una de las últimas propuestas de Samsung como método de seguridad biométrico es un sensor de flujo sanguíneo.

Publicada

Noticias relacionadas

La biometría es el análisis de medidas de procesos biológicos o de seres humanos, y está cada vez más claro que va a ser el método de autentificación en dispositivos electrónicos por mucho tiempo. Se estandarizó con la llegada de los sensores de huellas hace ya unos cuantos años; y cada vez estamos viendo más sistemas cada vez más seguros.

A la huella aún le queda para rato, no obstante, pues aún tiene mucho potencial, sobre todo con los futuros sensores situados bajo la pantalla, que estarían por llegar este año o, como muy tarde, según los avances que hemos ido viendo, el próximo año (este sistema está patentado y existe, pero no se ha comercializado en teléfonos, aún).

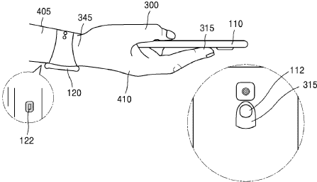
Una de las alternativas al sensor de huellas (aparte de Face ID, el sistema de Apple, por supuesto, que ya se está comercializando, y que se basa en reconocimiento facial, y que además funciona muy bien) es el sensor de flujo sanguíneo que ha patentado Samsung recientemente. La propia patente indica cómo funcionaría este sistema de autentificación: como las vías arteriales casi nunca coinciden en dos usuarios distintos, es posible identificarlo mediante este método.

Flujo sanguíneo, la futura nueva opción de autentificación

sensor flujo sanguineo samsung biometria telefono

sensor flujo sanguineo samsung biometria telefono

El documento deja un amplio abanico de dispositivos donde podría usarse este sensor (teléfonos móviles, tablets, smartwatches e incluso ordenadores), pero la opción más probable es que se acabe usando en wearables, especialmente en aquellos compatibles con pagos móviles mediante Samsung Pay, como los smartwatches de la firma.

Las personas no tenemos el mismo flujo sanguíneo, y ello puede ser un nuevo método de verificación de identidad

La razón, muy sencilla: se podría usar Samsung Pay (es decir, pagar en comercios con el reloj) tal y como se puede hacer ahora; la diferencia es que no se tendría verificar que somos nosotros mediante huella o mediante PIN. Sería un método de autentificación pasivo y no activo (no tendríamos que hacer nada para demostrar que somos nosotros).

sensor flujo sanguineo samsung biometria

sensor flujo sanguineo samsung biometria

La otra opción es hacerlo funcionar junto con otros sensores biométricos como el reconocimiento facial o la huella para mayor nivel de seguridad. Muy probablemente se pueda desarrollar un sensor de huellas de forma conjunta con un sensor de flujo sanguíneo (al menos en la teoría es técnicamente posible) por lo que no tendríamos que pasar el dedo por dos sensores, sino por solo uno, que sería el mismo.

Y esto último también tiene bastantes puntos, pues en las pocas imágenes que acompañan a la patente vemos lo que posiblemente sea sistema de reconocimiento facial con el sensor de flujo sanguíneo, funcionando al mismo tiempo, lo que reforzaría esta última teoría.