Juego de Tronos

Juego de Tronos

Software

Google quiere acabar con los spoilers en nuestras redes sociales

El nuevo objetivo de Google es acabar con los spoilers a toda costa, después de patentar una nueva tecnología para encontrarlos en Internet.

Publicada
Actualizada

Noticias relacionadas

La nueva patente de Google es muy curiosa: acabar con los spoilers a toda costa dependiendo de nuestros gustos.

Si sois como yo, lo que más odiaréis es encontraros un spoiler, o destripe, de una serie que os gusta y estáis siguiendo. Siempre habrá alguien que haya visto el último capítulo antes que tú, y lo haya comentado en las redes sociales.

Muertes de personajes, giros de guión, romances, incluso cosas nimias como detalles de fondo, Internet es un campo de minas en el que nunca sabes el spoiler que te vas a comer.

Acabar con los spoilers, la nueva misión de Google

google spoilers 1

google spoilers 1

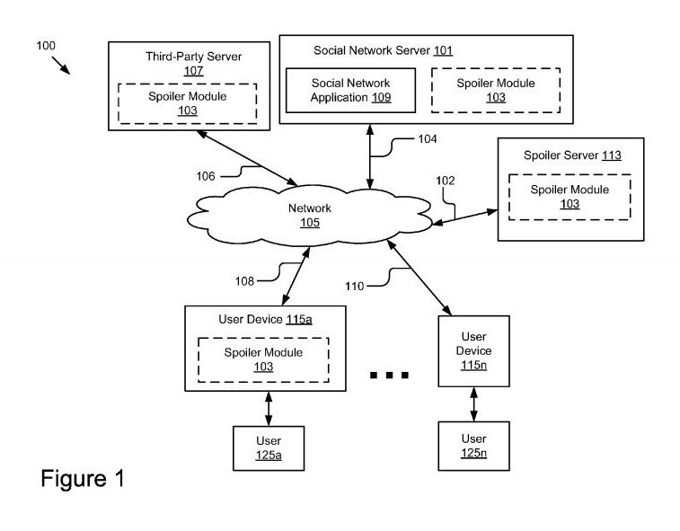
Google quiere acabar con esto, como demuestra la patente que ha registrado en la que define un sistema capaz de identificar spoilers en el timeline de nuestras redes sociales y bloquearlos.

Se especifica la posibilidad de “emborronar” el contenido, de tal manera que no veamos lo que pone, o bien una ventana emergente que nos avise de que podemos encontrarnos un spoiler, con un botón para descubrir el contenido.

google spoilers 2

google spoilers 2

El software registraría el contenido en el que estamos interesados para aprender a qué series queremos llegar “vírgenes”, y cuáles no nos importan. Esta seguramente sea la parte más importante, pero también la que más dependería de los algoritmos de Google y de la información que tiene sobre nuestras búsquedas, interacciones y todo lo relativo a nuestra vida en Internet.

Además, también se especifica una funcionalidad que permitiría llevar el registro de un grupo, como amigos o grupos de estudio. Por ejemplo, el sistema registraría el progreso que lleva cada miembro con un libro y permitiría hacer preguntas relacionadas con su trama dependiendo de hasta dónde vaya cada uno.

Esta funcionalidad sería muy agradecida en todas las redes sociales, pero no se especifica cómo Google pretende hacer que funcione en las que no son suyas; si sólo está disponible en Google+ su utilidad será limitada.