Patentes de Tesla.
El próximo cargador de Tesla tendrá refrigeración líquida para ser más eficiente
El futuro cargador de Tesla tendrá refrigeración líquida.
La nueva función de los Tesla ya está provocando problemas.
Las ventajas de actualizar un Tesla.
Noticias relacionadas
Lo hemos dicho en muchas ocasiones: las patentes si bien no son un reflejo exacto de la actualidad de las empresas sí que nos dan a entender cuáles son las ideas que tienen en mente. Se ha patentado un nuevo cargador de Tesla con una particularidad frente a los de siempre: tiene refrigeración líquida.
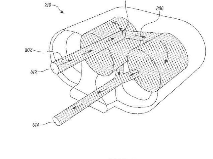
La carga rápida en los vehículos requiere que las estaciones de carga, y en definitiva los conectores tengan mayor potencia. Este aumento de potencia viene de la mano con un calor extra que se genera y que debe ser disipado. Esto ya lo intentó Tesla pero en los cables de sus cargadores V3 SuperCharger; este monta un cable refrigerado con líquido "significativamente más liviano, más flexible y más eficiente" que el cable de su predecesor.
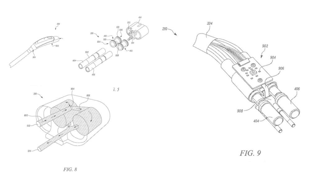
Esta patente que ha registrado Tesla muestra el concepto de dicho cable llevado al conector; la patente se llama "Conector de carga refrigerado con líquido" y muestra el prototipo de un cargador de Tesla con el conector refrigerado con líquido.
Patente de Tesla.
La patente reza así:
“El conector de carga incluye una primera toma de corriente y una segunda toma de corriente. Se proporcionan un primer manguito y un segundo manguito, de modo que el primer manguito está acoplado concéntricamente al primer enchufe eléctrico y el segundo manguito está acoplado concéntricamente al segundo enchufe eléctrico. Un colector está adaptado para encerrar los enchufes eléctricos primero y segundo y los manguitos primero y segundo, de modo que los manguitos primero y segundo y el colector crean un espacio interior hueco entre ellos. Un conducto de entrada y un conducto de salida dentro del colector se unen de tal manera que el conducto de entrada, el espacio interior y el conducto de salida juntos crean una ruta de flujo para el líquido".
No está claro si esta tecnología ya está en uso en los Supercharger V3 o si se usará para las estaciones de carga futuras. Este sistema, según la patente, consigue que el diseño sea más eficiente:
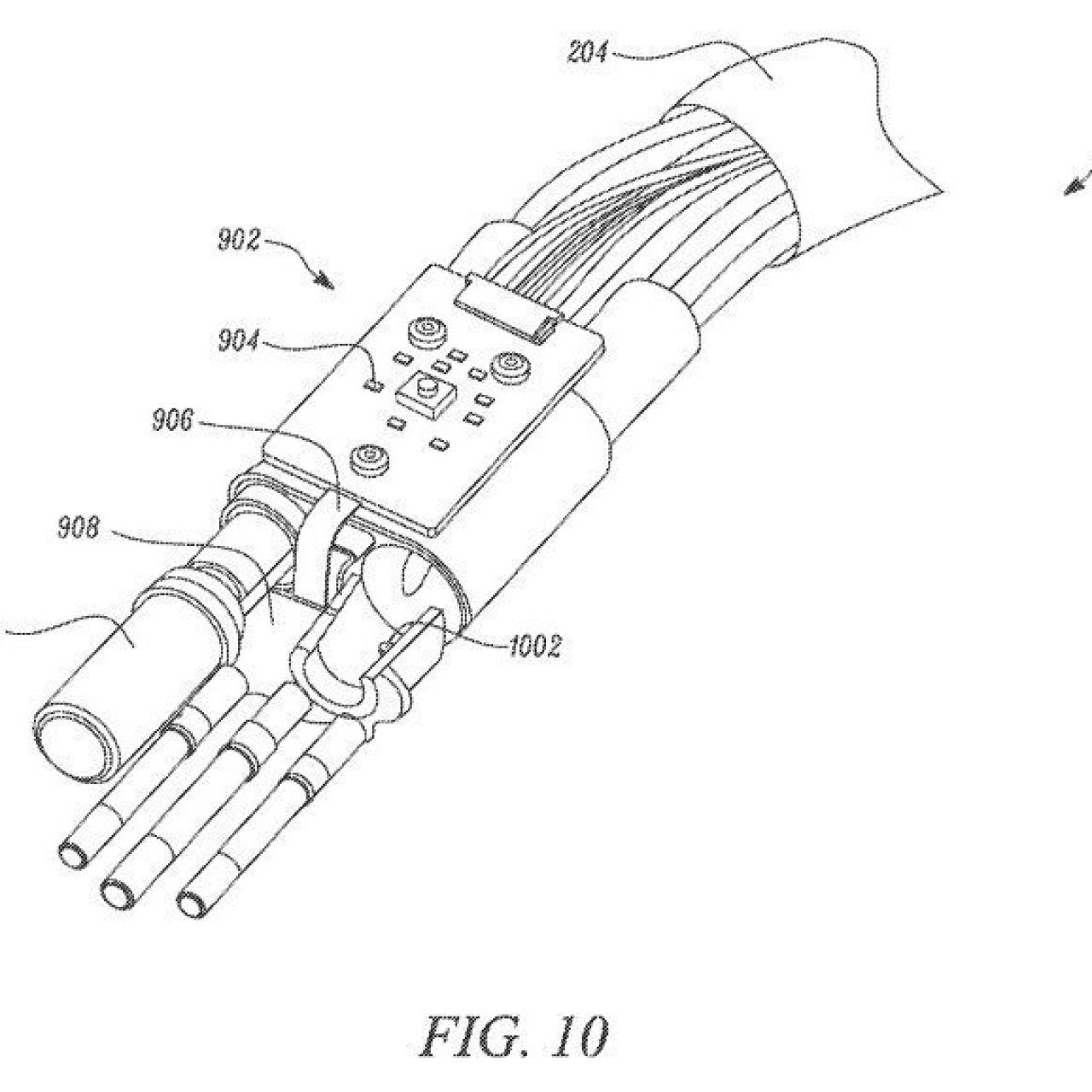
"La estructura de dos partes de la PCB (A 902) permite un enrutamiento más eficiente de los cables eléctricos del conector de carga 210, y el tamaño total del conector de carga (210) se puede reducir convenientemente".
Lo que se sabe acerca de esta patente es que se solicitó en marzo de este año, cuando se presentó la tecnología Supercharger V3, y la aplicación de esta patente fue lanzada esta semana pasada. Por lo tanto, es posible que esta tecnología la veamos bien en las futuras estaciones de carga de Tesla o en los Supercharger V3 de nueva generación.
Via | Electrek