Hardware

Apple puede recuperar el arco iris, con nuevas luces en los iPhone

Una nueva patente se centra en cambiar la "decoración" de un móvil.

El nuevo logo de Apple seria parte de un cambio de imagen.

La manzana iluminada fue todo un clásico.

Publicada

Noticias relacionadas

El logo de Apple es instantáneamente reconocible por cualquiera con un mínimo de conocimiento de cultura popular. Incluso si nunca has usado un iPhone, seguro que has visto la famosa manzana mordida.

Es una imagen que ha cambiado con el paso de las décadas, optando en los últimos años por un diseño simple y sutil, en el que la manzana no tiene tanto protagonismo; muy diferente al diseño de arco iris original.

Apple de vez en cuando lanza algunos guiños a ese diseño clásico; por ejemplo, en invitaciones para sus presentaciones, como la última del iPhone 11. Recientemente también ha apostado por devolver el color a sus productos, después de centrarse en colores apagados o más refinados.

El logo de Apple puede volver a ser multicolor

Eso puede cambiar muy pronto. Los rumores de que Apple volverá al arco iris han cobrado mucha fuerza este año; y aunque el iPhone 11 finalmente siguió la tendencia de los últimos años, estos rumores no han desaparecido.

La última patente de Apple que se ha hecho pública refuerza estos rumores. Y es que, en vez de simplemente volver al logotipo antiguo, es más probable que Apple se centre en crear una nueva imagen de marca multicolor.

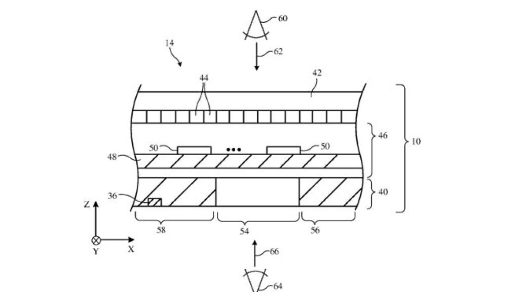
Y el secreto para hacer esta imagen realidad estaría en el iPhone y la nueva patente sobre "decoración ajustable" de dispositivos. El texto detalla el funcionamiento de un nuevo sistema de iluminación que permitiría modificar el aspecto del dispositivo; consistiría en una serie de capas en la carcasa del dispositivo.

Eso implica que la parte trasera del iPhone podría cambiar de apariencia, dependiendo de eventos y acciones del sistema operativo. Por ejemplo, podría avisarnos de diferentes tipos de notificaciones según el color elegido, según AppleInsider.

El logo de Apple estaría incluido en este sistema, por lo que estaría iluminado y cambiaría de color de manera dinámica. Puede incluso mostrar el arco iris de Apple, o que sea diferente cada vez que lo miremos.

Por supuesto, esta tecnología también se podría aplicar a la cubierta de un portátil. Recordemos que hasta el 2016 los MacBook tenían un logotipo iluminado, toda una seña de identidad que hacía fácil encontrarlos en una sala. Pero el lanzamiento de una nueva generación de MacBook trajo consigo un nuevo logo, más parecido al usado en los iPhone.