tesla patente baterias recambio destacada

tesla patente baterias recambio destacada

Omicrono

Cambiar baterías en vez de cargarlas, la nueva patente de Tesla

La nueva patente de Tesla muestra un nuevo sistema para cambiar las baterías en vez de recargarlas. El proceso dura solo 15 minutos.

Publicada

Noticias relacionadas

Si no puedes con tu enemigo, únete a él. Eso es lo que ha debido pensar Tesla para llegar hasta esta nueva patente.

Las baterías son y han sido siempre el problema de cualquier dispositivo eléctrico. Si en un teléfono móvil nos quejamos porque solamente da 6 horas de pantalla, en un coche eléctrico, que nos aporta solo 200 kilómetros de autonomía, más aún. Normalmente en el sector del motor estamos acostumbrados a recorrer incluso 1000 kilómetros sin repostar (depende del coche, por supuesto).

Si unimos esto a las locas ideas de Elon Musk, tenemos una solución tan inteligente como absurda: cambiar las baterías en vez de cargarlas. No es una idea de Musk, por supuesto, pues tiene muchos años, sino que ha sido este quien la ha patentado. De hecho, ya con anterioridad había lanzado un sistema de intercambio de baterías similar, pero sin éxito.

Elon Musk es el hombre que se atreve a hacer lo que ningún otro: desde llevar a la humanidad a la Luna hasta sustituir las baterías cada vez que fuera necesario cargarlas, pasando por los túneles subterráneos con los que piensa unir el planeta.

Baterías cambiadas en solo 15 minutos

La patente fue solicitada en mayo, pero no se hizo pública hasta ayer, después de ser aceptada a trámite.

tesla model s patente bateria recambio varios

tesla model s patente bateria recambio varios

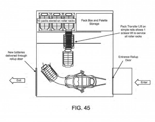
Con este sistema tardaríamos en cambiar la batería tan solo 15 minutos, considerablemente menos que recargarla por completo. Y es muy sencillo: ni siquiera tenemos que estar haciendo nada, pues el sistema es completamente autónomo.

Es como si entrásemos en un túnel de lavado. Lo dejamos en sus manos y tras los 15 minutos necesarios, tendremos una batería cargada al completo.

tesla model s patente bateria recambio trailer

tesla model s patente bateria recambio trailer

Ya luego el sistema se encargaría de cargarla y ponerla de nuevo en la lista volver a ser usada. El único problema para llevar a cabo esta propuesta, y siempre y cuando, claro, se quiera que tenga éxito, es que las baterías de todos los coches eléctricos deberían estar estandarizadas, algo muy improbable que ocurra.

Pero la patente no es solamente útil si queremos cargar la batería, sino que también serviría para cambiar una batería dañada en tiempo récord y sin conocimientos en la materia. De hecho, la patente contempla que este módulo de recambio pueda estar dentro de un tráiler. Así, ni siquiera tendríamos que llevar el coche hasta la máquina, sino que esta vendría hasta nosotros.