Dyson robot sube escaleras

Dyson robot sube escaleras Dyson - Oficina de Propiedad Intelectual del Reino Unido Omicrono

Tecnología

Lo próximo de Dyson son robots aspiradores que puedan subir escaleras y abrir cajones

Dyson ha presentado una serie de patentes en las que se refleja un robot capaz de subir y bajar escaleras o recoger objetos del suelo.

Publicada

Noticias relacionadas

Las escaleras y muebles son el gran reto de los robots aspiradores. Dyson, fabricante de electrodomésticos de alta gama disponibles en España, se plantea un futuro en el que sus productos puedan sortear esta barrera sin problemas.

Una serie de patentes ha revelado los diseños futuristas con los que la compañía quiere reinventar el mercado de los robots aspiradores. Lejos del modelo clásico de platillo volante que se desliza por todo el suelo, los Dyson del mañana tendrían brazos y piernas.

Las patentes se presentaron en Reino Unido el pasado 1 de septiembre. Aunque un boceto como estos no significa que el producto realmente acabe en las tiendas, la idea plasmada en los informes puede dar pistas sobre futuras funciones para dejar aún más limpios los hogares.

Un brazo robótico

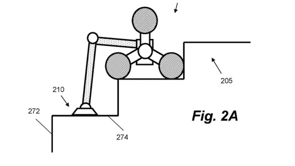
El diseño filtrado por Bloomberg muestra un robot poco convencional formado por un brazo robótico y un cuerpo de tres ruedas en forma de estrella. Esa estructura le permitiría bajar y subir las escaleras con cierta soltura, algo que los actuales modelos no pueden hacer. 

Los fabricantes de aspiradoras autónomas han desarrollado sistemas inteligentes para reconocer y analizar el terreno con la intención de que sus robots detecten las escaleras y las eviten a toda costa. De lo contrario, se precipitan por ese desnivel.

Mano robótica Dyson

Mano robótica Dyson Dyson - Oficina de Propiedad Intelectual del Reino Unido Omicrono

En otra de las patentes, un dibujo muestra una mano robótica sosteniendo una taza. Esto sugiere la capacidad de limpiar otras superficies lejos del suelo, abrir y cerrar cajones o puertas, recoger objetos del suelo.

No queda claro si ambos diseños serían un único aparato que pudiera recorrer toda la casa limpiando las escaleras y cualquier rincón. La información de las patentes es lo suficientemente vaga para no dar muchas pistas sobre la visión futurista que tiene la empresa.

Un portavoz de la empresa ha asegurado a Dyson que la compañía lleva tiempo trabajando en un robot que sea capaz de interactuar con los demás electrodomésticos.

Otras patentes

Esta nueva serie de patentes también menciona otros productos para el hogar algo más sencillos, como un cepillo de dientes, un purificador de aire que funciona como un par de auriculares, hasta un dispositivo para el cuidado de la piel. Dyson lleva más de 16 años vendiendo electrodomésticos dedicados a la limpieza del hogar, así como al cuidado personal y estético.

Dyson presenta con frecuencia patentes con nuevos diseños y tecnologías que nunca llegan al mercado, costumbre habitual entre todas las compañías tecnológicas. Incluso un portavoz ha contestado así a Bloomberg sobre esta nueva información: "Presentamos muchas patentes, pero nunca comentamos sobre tecnologías que podamos o no lanzar en el futuro".

También te puede interesar: