Tienda de Apple en Estados Unidos.

Tienda de Apple en Estados Unidos. Europa Press

Tecnología

El Apple Car sería capaz de mover los asientos automáticamente y ofrecer pantallas privadas

El próximo Apple Car estaría repleto de tecnología, incluyendo funciones inteligentes capaces de adaptarse a cada ocupante del coche y a su privacidad.

Publicada

Noticias relacionadas

Los rumores sobre el Apple Car llevan años circulando, pero nunca con tanta fuerza como ahora. La confirmación pareció llegar de manos de Hyundai, aunque sólo llegó a afirmar que estaba en negociaciones con la compañía de la manzana.

Como muy pronto, el Apple Car no llegaría hasta el 2028, pero eso también significa que este año es muy importante para los desarrollos y el diseño del vehículo antes de la posible presentación de los primeros prototipos.

Es de esperar que Apple se centre en crear un coche repleto de tecnología, con un sistema que sería la evolución de CarPlay con una pantalla tan grande como la de los Tesla. Y por supuesto, sería completamente eléctrico.

Tecnología del Apple Car

Pero eso sólo sería una pequeña parte de la tecnología puntera que Apple introduciría en su primer coche, como revelan en AppleInsider. Es lo que demuestran unas nuevas patentes registradas a nombre de Apple en los EE. UU., donde la compañía detalla posibles funciones de su próximo coche.

Una de estas funciones tendría que ver con la privacidad, uno de los aspectos más importantes para el marketing de Apple, y que ha defendido en todos sus productos como una alternativa a sistemas que nos 'espían'. En un coche, eso significa que Apple permitirá que los ocupantes tengan la máxima privacidad.

Las gafas que permitirían tener privacidad en el Apple Car

Las gafas que permitirían tener privacidad en el Apple Car USTPO Omicrono

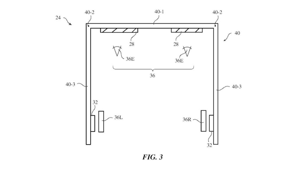
Para conseguirlo, ha registrado un tipo de pantalla que muestra contenido exclusivo para diferentes ocupantes. Esta "pantalla multi-usuario", como aparece en la patente, se basaría en un concepto muy parecido al de las pantallas 3D para emitir varias imágenes al mismo tiempo.

Cada ocupante sólo tiene que usar unas gafas especiales de cristal líquido para ver su contenido, sin temor a que otras personas puedan verlo; dos ocupantes pueden usar las gafas, sincronizadas con la pantalla para abrirse y cerrarse con la misma frecuencia. Este proceso es tan rápido que el ojo humano no lo capta, pero puede ver el contenido que se muestra entre cada instante. Sin las gafas, la pantalla muestra un contenido genérico como un logotipo.

Asientos personalizables

Esta obsesión por ofrecer una experiencia única a cada ocupante también llega a los asientos. La patente dedicada a la "configuración automática" del entorno se centra en explicar cómo el interior del coche puede cambiar para adaptarse a cada usuario.

Esto es algo especialmente importante si compartimos el coche con otros miembros de la familia o con amigos. Los asientos con memoria no son precisamente nuevos, y ya hay muchos fabricantes que han expandido esta funcionalidad al volante y a otros elementos. Pero lo que todos estos coches tienen en común es que esta configuración se guarda en su memoria interna.

El Apple Car sería capaz de mover los asientos automáticamente

El Apple Car sería capaz de mover los asientos automáticamente USTPO Omicrono

En cambio, en la implementación de Apple la información de cada usuario se guarda en un dispositivo móvil (como por ejemplo, el iPhone), y sólo con entrar en el coche este sería capaz de leerla y mover automáticamente el asiento y el volante para adaptarse al usuario.

Por lo tanto, da igual que sea la primera vez que te montes en un coche; si ya configuraste el asiento en tu iPhone, el coche sabrá cómo debe ponerlo todo para asegurar tu comodidad. El sistema es capaz de convertir la configuración de un coche a otro.

También te puede interesar...