Patente Facebook 1

Patente Facebook 1

Tecnología

Una motocicleta eléctrica robótica... ¿de Facebook? Sí, y se ha patentado

Una patente salvaje ha aparecido hablándonos de una motocicleta eléctrica robótica. No sería tan raro si la creadora de la patente... no fuera Facebook.

Publicada

Noticias relacionadas

Estamos muy acostumbrados a ver patentes locas que, aunque nos gustaría que existieran, no llegan a ver la luz. Aún con esas, las patentes tienen cierta coherencia con la empresa que las crea. Por ejemplo, Samsung no va a patentar… un jamón, por ejemplo. Pero algo así ha pasado con Facebook, patentando una moto eléctrica robótica.

Sí, has leído bien; una moto eléctrica robótica. Una patente muy detallada que tiene incluso los bocetos y la descripción bien definidas. La pregunta es obvia; ¿para qué demonios querría Facebook crear una moto eléctrica?

No, no ha sido Xiaomi: Facebook ha patentado una motocicleta eléctrica robótica

Patente Facebook 2

Patente Facebook 2

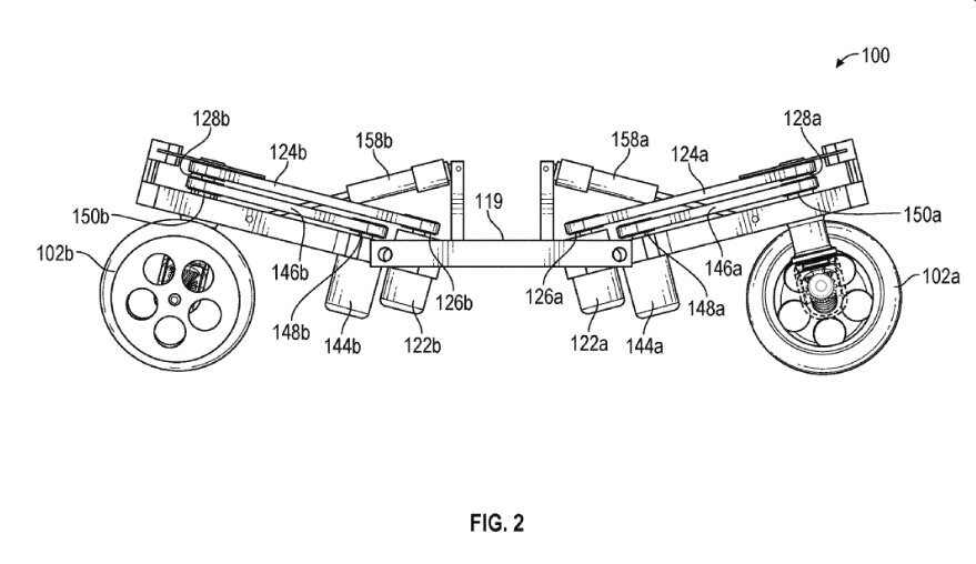
La patente es real y podemos ver algunos detalles importantes del diseño gracias a sus bocetos y a sus descripciones. Estamos ante una motocicleta eléctrica robótica, que aparentemente (y siguiendo la lógica de las patentes) ha estado siendo desarrollada por la misma Facebook. La motocicleta posee tracción a 2 ruedas, y según podemos ver en las imágenes, tiene dos motores eléctricos montados en un par de soportes situados en las ruedas. Los motores se conectan a las ruedas de un solo lado mediante un sistema de transmisión por correa.

Las correas giran en torno a un eje de transmisión corto ransfiere la potencia a las ruedas a través de lo que parece ser un acoplamiento de engranajes. Estas ruedas, además, cuentan con frenos de disco que por otra parte están colocados en el interior en su interior en vez de a las horquillas. Estas ruedas pueden girar uns 360 grados, lo que daría mejor dirección gracias a una segunda correa debajo de la de transmisión, ideal para velocidades bajas.

Patente Facebook 3

Patente Facebook 3

Sobre el control, la patente dice lo siguiente:

“El estabilizador de bucle de control puede incluir sensores para detectar la entrada de balanceo. La entrada de balanceo puede incluir información indicativa de la velocidad lineal y la velocidad angular de la motocicleta robótica, la velocidad lineal y la velocidad angular de cada rueda, y / o la orientación de cada rueda “.

Vamos a ser claros: esto no tiene sentido. De por sí, el hecho de que Facebook patente una cosa así no tiene lógica ya que… repetimos, ¿para qué querría Facebook desarrollar una motocicleta eléctrica robótica? Y más aún, ¿por qué con este diseño? Porque por ejemplo la dirección en 360 grados de las ruedas nos hacen pensar que estamos ante un vehículo propio para bajas velocidades. Pero, ¿por qué?

Patente Facebook 4

Patente Facebook 4

Es cierto que la micro movilidad con pequeños scooters está en alza. Los patinetes eléctricos se han convertido en un factor común de nuestro día a día y es lógico pensar que Facebook quiere intentar algo con esta patente. Pero el mundillo de la movilidad se aleja completamente de los quehaceres de Facebook. Un scooter robótico capaz de transportar a varias personas para evitar que los patinetes sean individuales, pero… ¿por qué querría Facebook meterse en esto? O quién sabe, podrían estar preparándose para temas de carga y descarga o entregas locales como ha hecho Wing.

Es cierto, sin embargo, que esto no quiere decir que Facebook vaya a sacar mañana una motocicleta eléctrica robótica. Muchísimas patentes se quedan en el olvido al día, y esta es una manera de que las empresas se cubran las espaldas por si acaso dicho proyecto les sale rentable y tiene futuro. La verdad, sería demasiado extraño ir a una tienda de motocicletas y ver en el escaparate una de Facebook. Puede que fuera un pelín Black Mirror.