apple teclado mecanismo de mariposa tecla
La solución de Apple al problema del mecanismo de mariposa de los teclados
Apple ha solucionado el problema del mecanismo de mariposa de los teclados, pero sigue sin reconocer que este problema existe de forma generalizada.
Noticias relacionadas
- 23 años después, los ordenadores Amiga aún reciben nuevos componentes como esta placa base
- Crean una computadora dentro de un juego de construir ciudades... y funciona a base de caca
- Los Macs empezarán a usar procesadores ARM en el 2020, dejando atrás a Intel
- El nuevo MacBook Air tiene un SSD mucho más lento que el modelo anterior, ¿Apple lo ha vuelto a hacer?
Los Macbook Pro estaban teniendo problemas con el mecanismo de mariposa de tu teclado. Se trata de un tipo de teclado que incluyen los nuevos portátiles, ocupando menos espacio y además siendo más eficaz a la hora de pulsar. En general, se trata de un rediseño del concepto completo del mecanismo del teclado, por lo que pueden surgir muchos problemas si la tecnología no está muy bien probada. Y así ha sido.
Concretamente, el fallo más grande era que se estaba introduciendo polvo y en general residuos entre la teclas y el teclado, lo que las atascaba en muchas ocasiones, impidiendo que pudiésemos escribir algunas letras; por lo tanto, no es solamente un tema de pulcritud.
Al principio Apple no reconoció el problema (y sigue sin hacerlo, pues dice que son pocos casos y que no es representativo), pero concedió la sustitución a los afectados, y un reembolso a quien siguiese con el problema tras sustituir su ordenador. Pero sigue insistiendo que son pocos casos, por lo que incluso los afectados han decidido hacer una demanda colectiva.
Apple soluciona por fin el problema con el mecanismo mariposa, pero a su manera
Algo parecido a esto ha ocurrido en varias ocasiones. Por ejemplo, cuando lo iPhone se doblaban, el famoso bendgate. En su momento juró y perjuró que el iPhone 6 no se doblaba. Ahora, años más tarde, hemos conocido que se sabía antes incluso de lanzar el teléfono al merado, gracias a unos documentos internos filtrados.
Apple ha solucionado el problema pero silenciosamente, para no tener que reconocer que existe
Con el mecanismo de mariposa ocurre algo parecido: Apple sigue sin reconocer el problema, aunque lo ha solucionado. Ahora, en un comunicado, afirma que el teclado es más silencioso, y vuelve a negar que exista tal problema con el polvo y los restos; pero en realidad, sí que ha sido solucionado.
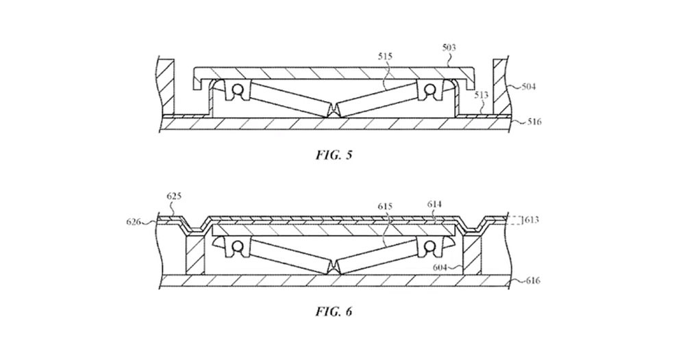
Gracias a iFixIt, hemos conocido que Apple ha incluido una membrana de silicona para impedir precisamente que esto ocurra. Además, esto mismo estaba reflejado ya en una patente fechada a 8 de marzo donde se explica cómo colocar una membrana de manera que impida el paso de restos.
patente apple membrana de silicona mecanismo de mariposa teclado macbook pro
Reconocer que está solucionando un problema que han afirmado por activa y pasiva que no existe implicaría reconocer que ha existido y por lo tanto devolver todo el dinero a los clientes o realizar un reemplazo masivo, algo carísimo en cualquiera de los casos.