facebook

facebook

Tecnología

Facebook quiere clasificarte según tu clase social e ingresos

Facebook ha patentado un algoritmo que nos identifica según la clase social a la que pertenezcamos, y algunas variables son, cuando menos, inquietantes.

Publicada

Noticias relacionadas

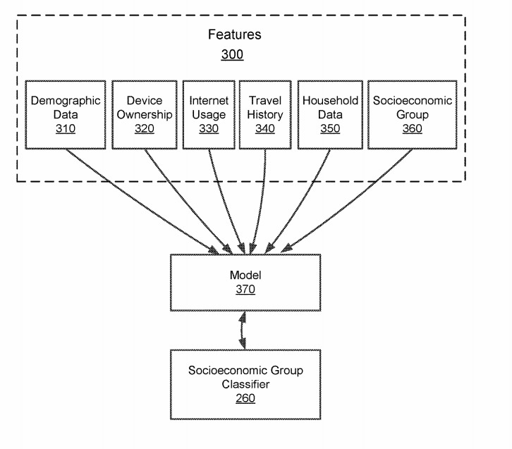
Facebook obtiene dinero de la publicidad. Por lo tanto, es menester para la red social mejorar el método en el que muestra cada banner de publicidad a cada usuario. Cuanto más afinada sea la publicidad, más efectiva será la publicidad y por lo tanto se pagará mejor. Ahora, conocemos que Facebook ha patentado un algoritmo capaz de identificar qué tipo de usuario somos basándose en nuestra clase social.

El problema es que este algoritmo básicamente identifica a qué clase social pertenecemos con el argumento de mostrar una mejor publicidad. La intención no es mala, si no fuera por el largo historial de la compañía, por lo que se teme que esta clasificación pueda usarse con fines discriminatorios; además, tenemos que sumar a la polémica de que Facebook parece no saber qué es clase trabajadora, clase media o clase alta, los tres segmentos en los que clasificaría a sus usuarios.

El algoritmo, registrado en la Oficina de Patentes y Marcas de Estados Unidos, recibe el nombre de Clasificación de grupos socioeconómicos según las características del usuario, y no se basa simplemente en los ingresos que recibimos, por ejemplo, sino en muchas otras cosas más.

clasificacion socioeconomica facebook anuncios

clasificacion socioeconomica facebook anuncios

Con todos los datos que ha ido recabando durante estos más de 10 años, es posible: sabe cuántos teléfonos, tablets y ordenador tenemos y cuántos hemos tenido; qué tiendas visitamos; nuestros estudios; si viajamos o no , y a dónde (aunque no se lo digas, Facebook sabe cuándo no estás en tu ciudad, incluso puede que esté mostrando en tu muro cuándo y dónde estás de viaje); además de otras muchas variables con las que puede identificar nuestro poder adquisitivo o, como Facebook lo ve, clase social.

Clasificación por clases sociales y variables desconcertantes

Para la red social, un usuario de entre 30 y 40 años, con casa en propiedad en Palo Alto, California (Estados Unidos), donde una vivienda considerada como pequeña cuesta del orden de 700 000 o 800 000 dólares, tiene un 30% de probabilidades de pertenecer a la clase media.

probabilidadde pertenecer a la clase media facebook

probabilidadde pertenecer a la clase media facebook

Si viajas más o menos, o si viajas a sitios más o menos caros (probablemente, también analice la variable de en qué establecimientos nos alojaremos), también sumará probabilidades a pertenecer a una clase social o a otra.

grupos socioeconomicos facebook anuncios

grupos socioeconomicos facebook anuncios

Algunas de estas variables pasan desapercibidas, pero otras, como el número de dispositivos que tengamos, son un poco desconcertantes (¿por tener menos ordenadores perteneceremos a una clase más baja?): por ejemplo, si tenemos un solo dispositivo conectado a Internet, solamente tenemos un 1% de pertenecer a la clase media.

El algoritmo fue enviado a la Oficina de Patentes y Marcas de Estados Unidos en julio de 2016, pero no fue hasta ahora cuando se ha aceptado y publicado, por lo que este sistema podría estar acabado y en uso muy probablemente, por lo que es posible que Facebook ya esté clasificándolos según nuestra clase social.