airbustechodesmontable1
Airbus patenta un techo desmontable para embarcar pasajeros
Airbus ha encontrado la solución para evitarte esas largas horas de espera: un techo desmontable.
Noticias relacionadas
- Airbus presenta un avión con las alas de un ave de presa, ¿el futuro de la aviación?
- Mira cómo una estación espacial china cae a la Tierra destruyéndose en la reentrada
- Una estación espacial china va a caer a la Tierra, aquí es donde ocurrirá
- Cámaras y accesorios de 13.000 dólares por 100 dólares, el costoso error de Amazon en el Prime Day
Airbus ha encontrado la solución para evitarte esas largas horas de espera: un techo desmontable.
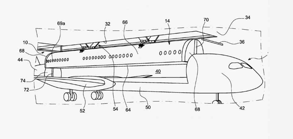
Seguro que si habéis viajado en avión más de una vez, habéis experimentado el peor inconveniente de este transporte, el tiempo de espera. Embarbar a todos los pasajeros de aviones con cientos de usuarios resulta una tarea que consume muchísimo tiempo y recursos en aeropuertos de todo el mundo.
Afortunadamente, la conocida empresa aeronáutica Airbus parece haber dado con un sistema para reducir el tiempo empleado en alojar a sus pasajeros, y este pasa por abrir el avión a modo de sándwich para facilitar su acceso.
Aviones descapotables con techo desmontable
airbustechodesmontable2
De esta manera, la aeronave podría preparar la mayoría de los sistemas antes de iniciar el proceso de embarque de pasajeros, reduciendo drásticamente las largas horas de espera en el aeropuerto y esos minutos de impaciencia en el momento de desembarcar. Pero tranquilos, porque la tripulación continuará utilizando las vías de acceso tradicionales.
Considerando que este sistema cambia por completo el acceso a las aeronaves, el principal obstaculo para desarrollar la patente, por loca que parezca, reside en reformar los aeropuertos para adaptarlos a esta medida. ¿Llegarán esta y otras ideas de Airbus a la realidad? Sin duda es una de las empresas que más está invirtiendo en el desarrollo de la aeronáutica en general, supongo que cualquier medida que nos ahorre las largas colas de espera sin detrimento de la seguridad, es más que bienvenida.
Vía | Engadget