Bacterias-smartphone-2

Bacterias-smartphone-2

Tecnología

Microsoft patenta rayos ultravioleta contra las bacterias en las pantallas táctiles

Las bacterias en las pantallas táctiles tienen los días contados gracias a una nueva patente de Microsoft.

Publicada
Actualizada

Noticias relacionadas

La última patente de Microsoft revela un sistema que puede ser la solución contra las bacterias en las pantallas táctiles.

Que nuestros dispositivos son asquerosos es algo que ya sabíamos; recordemos el estudio de la Universidad de Surrey que reveló la cantidad de bacterias que viven en un smartphone cualquiera.

Y lo peor es que ya no es sólo el smartphone; hay una pantalla táctil en prácticamente todo, y en dispositivos usados de manera pública o compartidos con otras personas la cosa puede ponerse fea en apenas unas horas, y la solución no es limpiarlo constantemente.

Las bacterias en las pantallas táctiles tienen los días contados

microsoft bacteria 1

microsoft bacteria 1

En vez de eso la patente trata de una tecnología que usa rayos ultravioleta que golpean la pantalla matando las bacterias y otros agentes capaces de transmitir enfermedades.

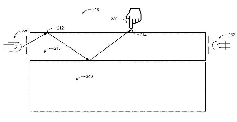
Para ello hay que implementar una película transparente en la pantalla, ya sea encima o en el interior. La clave está en disparar rayos ultravioleta en los extremos de la pantalla de manera que reboten contra la película transparente pero que al mismo tiempo parte de ella salga al exterior por los puntos en los que tocamos la pantalla.

microsoft bacteria 2

microsoft bacteria 2

La luz ultravioleta por lo tanto no sólo mataría las bacterias en el punto en el que tocamos la pantalla, sino que también desinfectaría la punta del dedo y las partes adyacentes, en un efecto conocido como reflexión interna total frustrada.

No hay pistas de cuándo llegaría esta tecnología, pero es de imaginar que primero llegaría a los smartphones Lumia y las tablets Surface.