Project-Loon-2

Project-Loon-2

Tecnología

Cómo funciona Project Loon de Google, los globos que dan Internet

Una nueva patente de Google muestra cómo funciona Project Loon, el sistema de globos para llevar Internet a las zonas más pobres.

Publicada

Noticias relacionadas

El proyecto de Google para usar globos para llevar Internet a las zonas más difíciles sigue avanzando, esta vez con la explicación de cómo funciona Project Loon.

En estos momentos Google tiene dos proyectos semejantes para ofrecer conexiones de Internet; por una parte tiene los drones de Titan, que despegarán en los próximos meses. Pero esa es una solución temporal y no fija que se usará para emergencias y situaciones complicadas.

Project Loon en cambio está basado en globos, y este sí que servirá para ofrecer conexiones en una gran zona durante mucho tiempo. Ahora una patente registrada por Google nos descubre los entresijos del proyecto.

Así es cómo funciona Project Loon

project loon patente 1

project loon patente 1

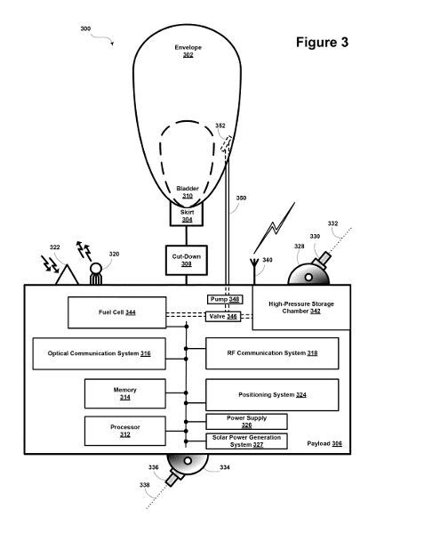
La patente habla de un método para controlar la altitud de un globo. Aunque es un sistema más simple que un drone, los globos tienen en su contra que dependen del viento de la zona; lo último que quiere Google es hacer despegar un globo y que acabe a cientos de kilómetros de donde debería dar Internet.

Los globos de Project Loon estarán a 20 km de altura, en lo que se conoce como estratosfera. A esa altura los vientos son tan fuertes que acabarían dando la vuelta al mundo. La clave está en aprovechar estos vientos para dirigirse al lugar adecuado.

Los globos son capaces de variar su altura gracias a un sistema que usa energía solar para mover el gas del globo a una cámara de almacenamiento y viceversa; de esta manera pueden soltar más gas para aumentar la altura y aspirarlo para reducirla. También se especifica un método para crear hidrógeno a partir de una pila de combustible; el último método consiste en pintar parte del globo en negro para calentar los gases en su interior y hacer que suban cuando ese lado se muestra al Sol.

Project Loon

Project Loon

El software se encarga de encontrar los vientos necesarios para moverse. Una vez en la zona en la que deben estar, los globos se comunican entre sí por señales ópticas, como láseres o luces LED, además de estar conectados por radio con las centrales de Google en el lugar. De esta manera pueden coordinarse.

Estos globos proporcionarán conectividad LTE a los sistemas móviles de la zona, actuando como si fueran antenas flotantes; para poder ofrecer este servicio Google buscará acuerdos con las operadoras de cada país que no pueden alcanzar a esos usuarios por falta de infraestructuras.