apple realidad virtual 1

apple realidad virtual 1

Tecnología

La realidad virtual de Apple era así

Todo el mundo conoce la realidad virtual y Apple de momento no tiene nada en camino. Eso sí, lo estudió y así era la realidad virtual de Apple.

Publicada

Noticias relacionadas

Parece ser que Apple no dejó pasar la tecnología que muchas otras marcas están desarrollando y presentando proyectos finalizados.

Tal y como explica Jony Ive, Apple estudió de arriba a abajo la realidad virtual y decidieron apostar en vez de eso por el reloj al ser ubicado en la parte obvia. Todo lo contrario que hizo Google con el proyecto de las Google Glass y que según Ive, era intrusivo. Así pues, la realidad virtual de Apple era así.

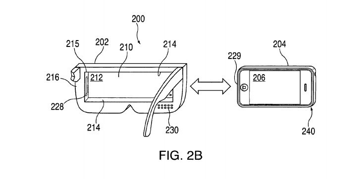
Ive no estaba sólo. El CEO de la compañía, Tim Cook asegura que siempre pensaron que las gafas no eran un apuesta inteligente, la gente no las quiere usar. Ahora sale a la luz una patente que explica como sería la realidad virtual de Apple. La patente describe una pantalla montada en la cabeza que trabajaría con un iPhone. Convertiría el dispositivo en una pantalla de realidad virtual al más puro estilo Oculus Rift.

Este dispositivo sería capaz de mostrar contenido 3D mediante la división de la pantalla en dos partes, para crear así imágenes estereoscópicas.

apple realidad virtual 2

apple realidad virtual 2

El dato más curioso de está patente es que fue presentada el año 2008, antes de la llegada de Siri. Esto significa que la compañía ya estaba preparada para crear sus primeras gafas de realidad virtual y prefirió apostar por el Apple Watch que llegará en breve a los mercados.

apple realidad virtual 3

apple realidad virtual 3

La realidad virtual de Apple que no llegará de momento

No es la primera vez que Apple estudiaba la realidad virtual. En 2006 y antes de la llegada de Oculus Rift ya estaba preparando patentes para apostar o no en el terreno de la realidad virtual.

De momento no sabemos si Apple presentará algún dispositivo al respecto. Lo que si sabemos es que el Apple Watch está muy cerca de su llegada al mercado y va a revolucionarlo.