apple-patente
Noticias relacionadas
- Cámaras y accesorios de 13.000 dólares por 100 dólares, el costoso error de Amazon en el Prime Day
- Los datos de casi todos los ciudadanos de Bulgaria han sido robados
- Los podcasts originales de Apple están cerca, ¿debería temblar la competencia?
- El nuevo MacBook Air tiene un SSD mucho más lento que el modelo anterior, ¿Apple lo ha vuelto a hacer?
Ayer se anunció el nuevo HTC One (M8), y como ya comentamos una de las cosas mas interesantes que incluye es un sistema de cámara dual que permite cambiar el foco de nuestras fotografías después de haberlas hecho; también permitiría editar el fondo y el primer plano por separado. Pues bien, seguramente sea casualidad, pero hoy se ha sabido gracias a una patente que Apple también está trabajando en un sistema de cámara dual, aunque eso es lo único que tendrá en común con el de HTC.
Sensores separados
Eso es porque Apple aparentemente ha decidido tomar una dirección diferente, y no incluirá una segunda cámara para obtener información de profundidad. En vez de eso, se trata de una sola cámara con dos sensores separados; uno de ellos capturará la luminosidad, o luma, y el otro capturará el color, o chroma. Estos sensores estarán uno al lado del otro, y aunque la imagen de muestra usada en la patente muestra un ordenador portátil, también se especifica su uso en dispositivos móviles.
El principal motivo detrás de dividir la información entre dos sensores es espacio: gracias a que cada uno tendrá que capturar menos información, estos podrán ser mas finos y ocupar menos en el dispositivo que una cámara normal. Por tanto, si finalmente llega a producirse, podemos esperar que los próximos modelos de iPhone sean incluso mas finos que ahora. El segundo motivo es calidad de imagen, ya que este diseño reduce el ruido capturado y puede ser mas fiel en la captura de colores.
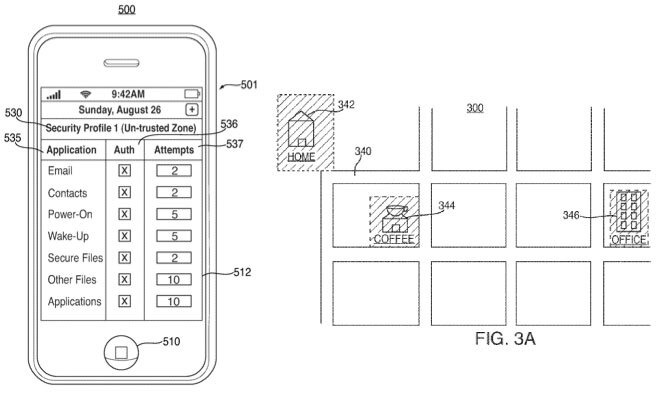
Seguridad dependiente de la localización
apple-patente-2
Esta no es la única patente de Apple que se ha descubierto: otra está relacionada con la seguridad dependiente de la localización. Esto significa que nuestro iPhone podrá aumentar su seguridad dependiendo de dónde nos encontremos; si detecta que estamos en casa, puede pedir simplemente una combinación de cuatro dígitos, y si nos encontramos en la calle pedirá escanear nuestra huella dactilar.
También se contempla la posibilidad de configurar el grado de seguridad de las aplicaciones, así como usar nuestros datos personales como el calendario para comprobar que todo va bien. Por ejemplo, si nuestros amigos en redes sociales nos ven en un lugar determinado y el dispositivo detecta que está en otro diferente. Aunque algo nos dice que esto no gustará a muchos usuarios que sentirán que están siendo vigilados por su smartphone.
Fuente | Apple Insider