Furgoneta de Amazon fabricada por Rivian

Furgoneta de Amazon fabricada por Rivian Amazon

Hardware

Amazon idea que sus furgonetas lleven drones de reparto en el techo

Una nueva patente de Amazon revela que estarían ideando un sistema para desplegar drones de reparto desde sus mismas furgonetas, llevándolos en el techo de las mismas.

Publicada

Noticias relacionadas

Desde hace años, Amazon ha estado investigando nuevas formas de realizar el reparto de sus paquetes. Hablamos de una de las firmas más importantes en este campo, por lo que cualquier idea es bienvenida, incluso si esta es una locura. Una nueva patente que ha sido registrada por Amazon auna lo mejor del transporte convencional con los drones.

La idea detrás de esta patente es que las furgonetas de reparto de Amazon además de cargar los paquetes monten en el techo drones de la compañía que se encargarán de llevarlos a su destino mediante sensores LiDAR y sensores de ubicación. No obstante, esta tecnología se alojaría en la propia furgoneta, y no tanto en los drones.

No es ni mucho menos la primera vez que Amazon toca el tema de los drones. De hecho, tanto Amazon como otras empresas de mensajería han estado realizando pruebas con drones para sus repartos, especialmente en pandemia cuando el distanciamiento social se constituyó como una obligatoriedad.

Furgonetas y drones

Patente de Amazon

Patente de Amazon Amazon Omicrono

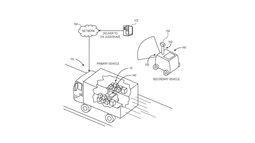
Esta nueva patente describe dos grupos de vehículos, uno "principal" y uno secundario siendo estos una furgoneta y un dron, respectivamente. El vehículo principal (camioneta, furgoneta, etcétera) cargaría en la parte trasera los paquetes a repartir y en el techo del vehículo, los drones de reparto. Una vez hecho esto, la furgoneta va hacia el punto de destino, aparca y se dispone a desplegar el dron.

La clave de esta patente es que los sensores encargados de orientar al dron no estarían instalados en el dron como tal, sino que se usarían por el equipo de reparto en la camioneta, donde estarían instalados. Así, estos se podrían usar para guiar al dron por la mejor ruta para que vaya al hogar en cuestión, dejar el paquete en su puerta y volver.

Patente de Amazon

Patente de Amazon Amazon Omicrono

Las instrucciones se enviarían desde la furgoneta hasta el dron mediante un sistema de comunicación inalámbrica, como el Bluetooth o el WiFi. Este dron podría estar equipado con un logo reconocible, como un código QR para que la cámara equipada en la furgoneta pueda rastrear en todo momento el dron y así recalcular la ruta si así lo ve necesario, también en caso de que el dron necesite regresar.

Por supuesto, al ser una patente hay muchísimas cosas que pueden variar en caso de que se lleven a un escenario de uso real. Un ejemplo podría ser cambiar el dron por un robot de Boston Dynamics, que pudiera ser cuadrúpedo o tener otro factor de forma y equipar sus propios sensores. Incluso podrían desplegarse flotas enbteras de drones a un vecindario completo con una furgoneta como único nexo en común.

También te puede interesar...