macbook teclado pantalla 1

macbook teclado pantalla 1

Hardware

Un MacBook con una pantalla OLED como teclado, la última idea patentada por Apple

Un MacBook con pantalla como teclado es la nueva idea patentada por Apple, un concepto que lleva más allá la idea de la Touch Bar.

Publicada

Noticias relacionadas

Muy raras veces comentamos las características de los teclados de los portátiles que aparecen en Omicrono; salvo contadas excepciones, esa suele ser la pieza más aburrida, en la que menos margen hay para innovar.

No es que no se haya intentado, por supuesto. Por ejemplo, hemos visto teclas con pequeñas pantallas integradas que cambian de aspecto; mas recientemente, Apple introdujo la Touch Bar, una pantalla que sustituye la fila superior de teclas por diferentes funciones dependiendo de la aplicación.

Un MacBook con pantalla como teclado, la evolución de la Touch Bar

Ahora Apple Insider informa que la oficina de patentes de EEUU ha otorgado una patente a Apple que va en esa misma dirección; es la conclusión lógica de la Touch Bar: hacer que todo el teclado sea una sola pantalla.

O dicho de otra manera, estaríamos ante un MacBook con doble pantalla, como si fuera una Nintendo DS sobredimensionada. Una idea que permitiría implementar un “teclado dinámico”, que podría cambiar dependiendo de nuestras necesidades.

macbook teclado pantalla 2

macbook teclado pantalla 2

Por ejemplo, al ser táctil, el teclado podría convertirse en una tableta de dibujo compatible con el Apple Pencil en algunas aplicaciones; o las teclas podrían cambiar de forma o idioma respecto a la distribución original. Hay muchas posibilidades, aunque la gran duda es cómo afectará este cambio a la comodidad a la hora de escribir; todo el mundo sabe que las pantallas táctiles no son ideales para largas sesiones escribiendo.

La patente incluso deja caer que el futuro de los MacBook puede estar en los dos-en-uno. Se especifican dos diseños para la bisagra, una permanete y otra que permite separar el teclado de la pantalla; es decir, que nos quedaríamos con dos pantallas independientes, que podrían servir como tablets.

macbook teclado pantalla 3

macbook teclado pantalla 3

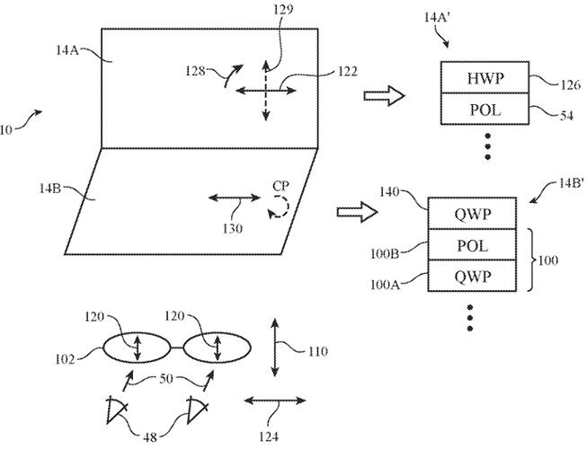
Apple está trabajando en unificar iOS y macOS, ofreciendo la posibilidad de crear apps que funcionen en ambos sitemas. Sin embargo, la patente deja claro que no estamos ante dos iPads unidos; además, se tienen en cuenta potenciales problemas, como los reflejos que las pantallas se producirían entre si, que se solucionarían con capas polarizadas.

Como solemos decir, esta patente no significa que Apple vaya a lanzar un portátil con esta tecnología, sólo que lo ha investigado y lo tiene en cuenta.