apple impresora 3d 1
Apple ha diseñado una impresora 3D a color
La impresora 3D a color de Apple ha aparecido por las patentes de EEUU. Su novedoso sistema sería capaz de imprimir y pintar la figura al mismo tiempo.
Noticias relacionadas
- Airbus presenta un avión con las alas de un ave de presa, ¿el futuro de la aviación?
- Mira cómo una estación espacial china cae a la Tierra destruyéndose en la reentrada
- Una estación espacial china va a caer a la Tierra, aquí es donde ocurrirá
- Crean una computadora dentro de un juego de construir ciudades... y funciona a base de caca
La impresora 3D a color de Apple puede ser una realidad pronto, si la última patente de la compañía es indicativo de algo.
Cada vez queda menos para que todo el mundo tenga una impresora 3D en su casa, igual que pasaba antes con las impresoras de papel. Y Apple puede que quiera subirse al carro.
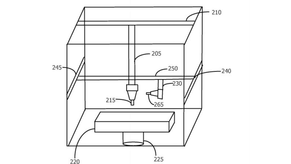
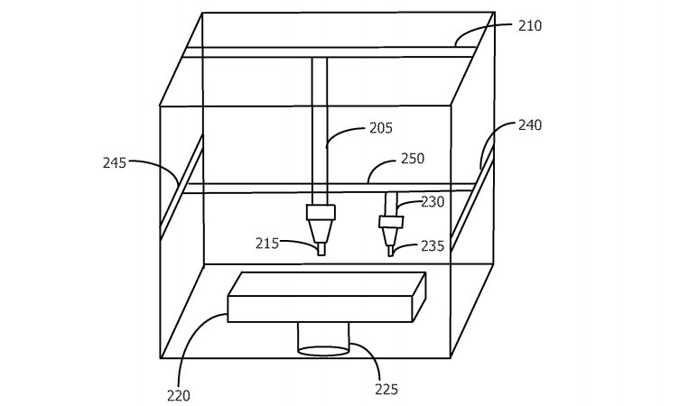
La nueva patente publicada revela que al menos, tiene una idea interesante para hacerlo. Se trata de una impresora 3D a color, es decir, que no estaríamos limitados a crear figuras de un único color dependiendo del plástico usado.
Así sería la impresora 3D a color de Apple
Para conseguir una gama amplia de colores, el truco de este concepto es usar dos cabezales diferentes: uno es similar al de otras impresoras 3D y se encarga de imprimir el objeto en 3D en diversos materiales, pero sobre todo plástico.
apple impresora 3d 2
El segundo cabezal se encargaría de pintar la figura con el patrón que hayamos creado; esto se puede hacer con aerógrafos, inyección de tinta, spray de pintura o incluso marcadores multicolor. Apple ha ideado dos conceptos; en uno el cabezal de la impresión y el de la pintura trabajen de manera intermitente por capas, y en el segundo primero se termina de imprimir el objeto y luego se pinta.
¿Veremos la vuelta de Apple al mercado de las impresoras, aunque esta vez muy diferente de las de hace décadas?
Fuente | Apple Insider