amazon paracaidas 1

amazon paracaidas 1

Omicrono

Amazon quiere tirarte los paquetes a casa con un paracaídas

La última idea de Amazon para saltarse a las empresas de mensajería es la entrega de paquetes por paracaídas, por peligrosa que suene.

Publicada

Noticias relacionadas

El nuevo plan ideado por Amazon consiste en la entrega de paquetes por paracaídas. Y no es tan estúpido como suena.

Amazon sigue en su cruzada personal por deshacerse de las empresas de mensajería; su objetivo es controlar también el envío de paquetes, en vez de perderles la vista en cuanto salen de su almacén.

Para conseguirlo, ha invertido en muchos proyectos; ha comprado unos aviones, por ejemplo, y se ha centrado en el desarrollo de drones. Este es tal vez el avance más interesante, pero al mismo tiempo el más complicado de ejecutar.

La entrega de paquetes por paracaídas, la nueva idea loca de Amazon

Los drones no son perfectos para entregar paquetes. Aunque sean rápidos y puedan dejar el paquete a la puerta de nuestra casa, también tienen una autonomía limitada y el proceso de aterrizaje y despegue puede suponer un cierto peligro, tanto para el drone como para nosotros mismos.

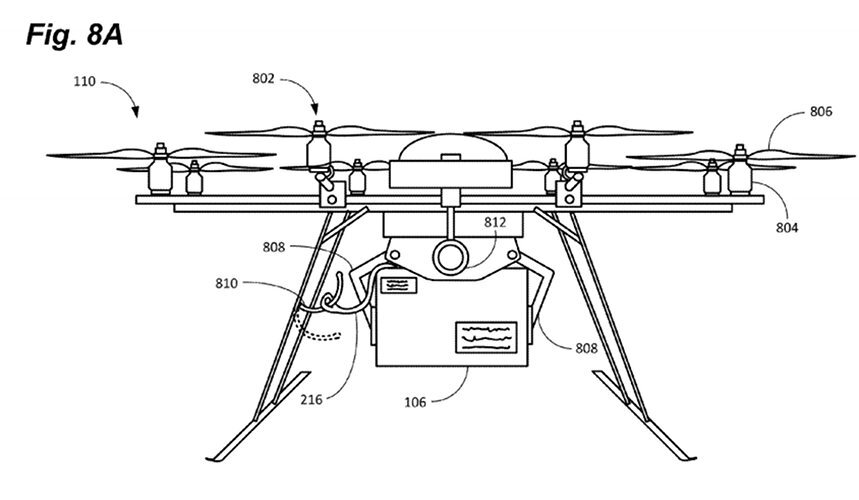
Es por eso que Amazon está investigando otros métodos para enviar paquetes por drone; la última patente registrada esta semana por la compañía nos puede dar alguna pista del camino que seguirá. Y esa pista es un enorme paracaídas.

amazon paracaidas 4

amazon paracaidas 4

Sí, la idea, tan simple como suena, es la entrega de paquetes por paracaídas. En vez de que el drone tenga que aterrizar, soltar el paquete y despegar, podrá soltarlo desde las alturas, y un sistema incorporado en el paquete abrirá un paracaídas.

El paquete lleva integrado un paracaídas (o varios, en el caso de paquetes pesados) y una serie de cables para activarlo. Además, se plantea la posibilidad de integrar amortiguadores, para que el contenido no sufra daños cuando el paquete toque el suelo. También podría llevar sensores para que el drone detecte si la caída se ha producido de manera controlada, o si ahora nuestro pedido es una mancha en el asfalto.

Amazon experimenta con locuras en su desarrollo de drones

amazon paracaidas 2

amazon paracaidas 2

Ese es el problema más evidente de esta implementación. Que si algo sale mal, como mínimo destruirá nuestro pedido; y dependiendo de la mala suerte, podría matar a una persona. Incluso con un paracaídas, estos paquetes llevarían la suficiente velocidad como para hacer mucho daño.

amazon paracaidas 3

amazon paracaidas 3

Es una idea bastante loca una vez que te das cuenta de que Amazon quiere bombardear nuestro vecindario con paquetes. Aunque la patente ha sido otorgada ahora, fue registrada el pasado 2015, lo que indicaría que Amazon lleva ya un tiempo trabajando en la idea.

Puede que todo esto no sea mas que una prueba de concepto, por supuesto. Que en realidad nunca vaya a hacerse realidad, y que solo sea fruto de las pruebas internas de la compañía. Pero no deja de ser interesante que se lo hayan planteado.