airpod apple3

airpod apple3

Omicrono

Los siguientes AirPods de Apple podrían medir tu pulso y temperatura corporal

La oficina de patentes revela que Apple podría estar trabajando en unos AirPods con sensores biométricos y una mejor cancelación de ruido.

Publicada

Noticias relacionadas

La oficina de patentes revela que Apple podría estar trabajando en unos AirPods con sensores biométricos.

Puede que los AirPods todavía estén agotados en la mayoría de tiendas o la lista de espera se vaya en algunos casos a las seis semanas, pero eso no impide que Apple ya esté trabajando en la siguiente versión. O al menos eso es lo que podemos deducir tras ver las patentes que ha registrado en la Oficina de Patentes y Marcas de los Estados Unidos.

 

airpod apple5

airpod apple5

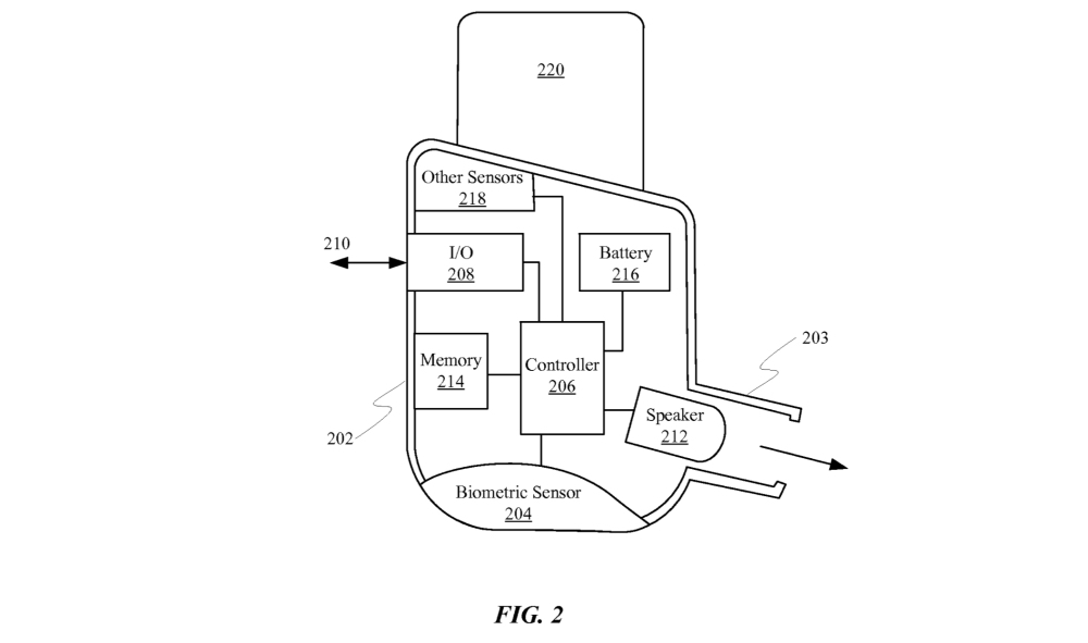
Según han descubierto en Patently Apple, la compañía de Cupertino estaría trabajando en una versión renovada de los AirPods que incorporaría un sensor biométrico similar al del Apple Watch. De esta forma, según las patentes, los próximos auriculares de la compañía serían capaces de medir el ritmo cardiaco, la temperatura, el VO2, la actividad electrodermal, la ICG y realizar un electrocardiograma.

airpod apple2

airpod apple2

No sería una tarea sencilla puesto que colocar un sensor de PPG (o photoplethysmogram) en un auricular resulta algo complejo puesto que necesita una amplia superficie de contacto. Para solucionar el problema Apple colocaría el sensor de forma que haga contacto con el trago de la oreja (esa prominencia que sale en la parte central) y se aseguraría un contacto constante mediante la forma del propio auricular.

Unos AirPods con mejor cancelación de ruido

airpod apple1

airpod apple1

Por último, la patente también muestra con detalle la nueva posición triangular de los altavoces. Una configuración que podría mejorar la cancelación de ruido en los futuros AirPods de Apple. Una de las pocas áreas en las que los auriculares de la compañía cojean.

Al igual que ocurre con los rumores, estas patentes hay que tomarlas con una pizca de precaución y otra de escepticismo. Si algo hemos aprendido estos años es que no todas las patentes acaban materializándose y que aún haciéndolas no siempre se cumplen a cal y canto.