google-sign-dark

google-sign-dark

Omicrono

Google quiere responder automáticamente en nuestras conversaciones usando nuestros datos

Publicada

Noticias relacionadas

Gracias a los sistemas y aplicaciones actuales, nuestra vida es mucho mas fácil que antes. Podemos delegar tareas mundanas o repetitivas a las máquinas para así centrarnos en aprovechar mejor nuestro tiempo. Incluso podría decirse que tenemos las cosas “demasiado fáciles”, pero no es menos cierto que gracias a eso somos capaces de hacer mas cosas al mismo tiempo y de ser mas eficientes. Pero, ¿cuándo llegamos al punto en el que estamos delegando demasiado?

Parece que Google quiere llegar a esos límites con su nueva patente dedicada a la respuesta automática en redes sociales. Como siempre, el hecho de que una empresa pida una patente no implica que realmente vaya a lanzar un producto similar, pero sí que desvela por dónde irán los tiros en el futuro de la compañía.

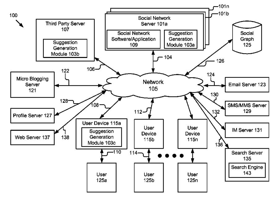
Y al parecer el futuro consiste en que Google lo hará todo por nosotros, incluso nuestras relaciones con otras personas. La patente describe un sistema de “Generación automática de sugerencias para reacciones personalizadas en una red social”; es decir, que es capaz de responder automáticamente a diversos mensajes dirigidos a nosotros sin que tengamos que hacer nada mas que dar el visto bueno. Tal sistema sería muy complejo, y así lo refleja la patente.

google-sugerencias-network

google-sugerencias-network

Porque para poder darnos respuestas apropiadas, el sistema básicamente necesitará saberlo todo sobre nosotros, algo que, la verdad sea dicha, ya ocurre cuando usamos servicios de Google. Al usar sus productos como Android, las apps webs o la búsqueda, la compañía conoce muchos de nuestros datos mas importantes como las redes sociales en las que participamos, nuestro calendario, nuestra experiencia de trabajo, o incluso los correos que hemos recibido.

El sistema estaría dividido en “módulos colectores”, software automatizado que recorrería esos datos y en base a ellos nos presentaría sugerencias ante diversas preguntas. Estas sugerencias pueden ser simples, como un “¡Feliz cumpleaños!”, o un “¡Felicidades!” o “¡Enhorabuena!” si nos anuncian que se van a casar, por ejemplo; pero también pueden ser muy complejas como muestra el ejemplo de la patente.

Google_patent_chatresponse

Google_patent_chatresponse

“Hey, David, estoy bien, tu estuviste en la empresa ABC durante 3 años y te cambiaste a XYZ, ¿Qué diferencias ves, disfrutas tu nuevo puesto de trabajo?”
 
El contenido de esta sugerencia está basado en 1) anteriores conversaciones entre Alice y David, 2) anteriores mensajes mandados por Alice a otros amigos y 3) mensajes (mandados por otras conexiones entre el círculo de amigos de Alice y David) que son públicos o accesibles de manera privada a Alice, o alguna combinación de ellas.

Como vemos, parece una versión vitaminada del sistema de sugerencias actual de Gmail, que se da cuenta de que en un correo hablamos de un adjunto y nos avisa si no lo hemos añadido, por ejemplo. Por supuesto, no faltarán las cuestiones sobre privacidad, aunque podría decirse que en realidad Google no estaría obteniendo ningún dato nuevo, ya que simplemente usa los que ya puede acceder sobre nosotros y los junta para formar una imagen de nuestras relaciones.

En todo caso, es de esperar que no todo el mundo esté contento con este tipo de sugerencias, por considerarlas poco personales; el sistema de lenguaje de Google para escribir frases que no parezcan robóticas tendrá mucho que ver en el uso de estas sugerencias. Sin embargo, seguro que servirá para ahorrar unos minutos en esta atareada vida moderna que llevamos.

¿Lo aceptaríais?

Fuente | USPTO