LG patenta un móvil plegable y nos encanta

LG patenta un móvil plegable y nos encanta

Noticias y novedades

LG patenta un móvil plegable y nos encanta

LG ha patentado un móvil plegable, el cual destaca por incluir una bisagra interna bajo la pantalla. El diseño que muestra la patente nos encanta.

Publicada

Los smartphones plegables prometen ser una de las modas y tendencias del mercado para 2019. Más allá de Samsung, parece que Xiaomi y LG estarían trabajando también en este tipo de dispositivos que pueden usarse como móvil y convertirse en tablet.

Así sería el móvil plegable de LG según sus patentes

2018 ha sido un año de transición en el mercado de la telefonía móvil, pero este nuevo año promete ser mucho más apasionante. La llegada del 5G y las pantallas plegables prometen innovación a raudales, y ningún fabricante quiere perdérselo.

Samsung ya presentó su Infinity Flex, la tecnología que usarán en sus móviles plegables. Ayer mismo conocíamos en vídeo un supuesto prototipo de Xiaomi que también destacaba por poder plegar su pantalla, cambiando de interfaz entre móvil y tablet.

LG es otro de los grandes gigantes tecnológicos que no quiere perderse esta oportunidad. Ya en sus planes para 2019 había indicios que para finales de año querían presentar su propio móvil plegable. Y ya han patentado algunos conceptos, tal y como leemos en LetsGoDigital.

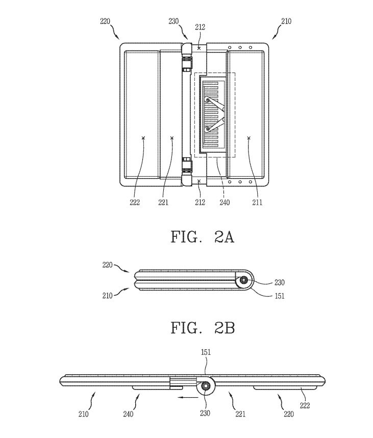
La compañía surcoreana registró en la oficina de patentes de Estados Unidos su diseño de smartphone plegable. El diseño es bastante específico y detallado, tal y como podemos ver en los documentos oficiales. El diseño consiste en una especie de bisagra que ayudaría a mantener un formato compacto en modo móvil, y facilitaría el despliegue a modo táctil.

Recordemos, que el hecho de que un fabricante haya registrado una patente no siempre implica que finalmente este vaya a ser el diseño que LG termine utilizando. Es importante señalar además que LG es, al igual que Samsung, un fabricante de componentes. Patentar sus creaciones no solo es útil para sus propios modelos, sino para licenciar la tecnología a cualquier otro fabricante que quiera optar por esta tecnología en su próximo móvil.

Fuente e imagen de cabecera | LetsGoDigital.