La nueva locura de Samsung, un móvil con dos pantallas... y la segunda es transparente
Samsung ha patentado un concepto muy interesante de móvil con dos pantallas, que podría ser la evolución de los móviles plegables que ahora ofrece.
Samsung es el fabricante que más está apostando por los móviles plegables en la actualidad, aunque la propia compañía espera que eso cambie pronto con la llegada de competidores que le pondrán las cosas difíciles. Ya estamos viendo algunos, como el llamativo Xiaomi MIX Fold 2, con un precio inferior.
["Esperamos ver más competencia en móviles plegables" Entrevista a Mark Holloway de Samsung]
Eso obligará a Samsung a introducir cambios y mejoras importantes en sus dispositivos para ser competitiva, especialmente si quiere seguir apostando por las gamas más altas. Por lo tanto, no es de extrañar que ya esté desarrollando nuevas tecnologías.
El móvil con dos pantallas de Samsung
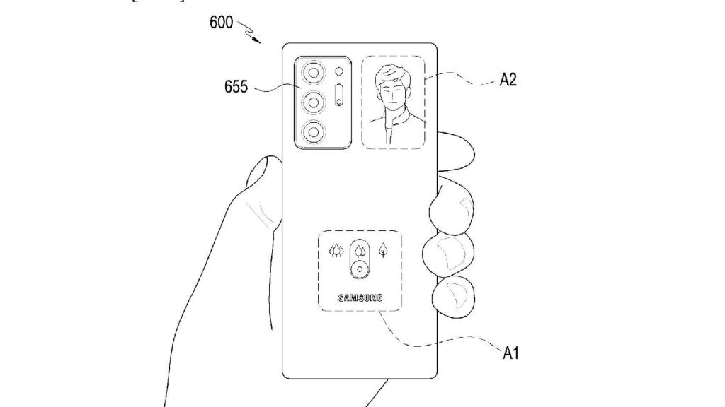
La última patente publicada por Samsung y descubierta por SamMobile revela una de estas posibles innovaciones, con las que puede destacar del resto de fabricantes: una segunda pantalla, integrada en la trasera del móvil para mostrar información y acceso rápido a funciones. Ahora bien, eso no es precisamente algo nuevo; la propia Samsung ya tiene el Galaxy Z Flip, un modelo con una pequeña pantalla que hace justo eso; nos ofrece un acceso limitado a algunas funciones, además de funcionar como visor para las cámaras para hacernos una selfie.
El Androide Libre
El concepto propuesto por Samsung no es muy diferente a eso en la práctica; la verdadera diferencia está en la implementación. En vez de simplemente integrar una segunda pantalla convencional, la patente de Samsung describe un dispositivo con una pantalla transparente que es capaz de encenderse de manera parcial; por ejemplo, para mostrar contenido sólo en una parte de la pantalla.
Por lo tanto, toda la trasera del dispositivo sería una pantalla, que podría encenderse sólo en una parte concreta para mostrar información. Entre los ejemplos mostrados por Samsung está la posibilidad de que la pantalla muestre un marco con nuestra cara para hacernos una selfie fácilmente, o acceso directo a funciones directamente desde la trasera del móvil.
Otro detalle curioso es que el logotipo de la marca Samsung no estaría grabado en la trasera del móvil como es habitual, sino que sería mostrado por la pantalla y por lo tanto, podría cambiar de tamaño y posición a nuestro gusto. También cabe la posibilidad de que la pantalla muestre gráficos personalizados, por lo que podríamos tener un diseño de móvil diferente cada día, por ejemplo.
Por ahora, esto no es más que una patente y eso no significa que Samsung lo vaya a implementar en un móvil; es sólo que sus ingenieros han tenido esta idea y han trabajado en ello, pero de ahí a hacerlo realidad hay un trecho y no siempre ocurre.
Te puede interesar
- Samsung Galaxy A04: características y precio de un nuevo móvil con 5.000 mAh de batería
- Samsung actualiza por sorpresa los Galaxy antiguos para arreglar el GPS
- Probamos los nuevos plegables de Samsung, los Galaxy Z Fold 4 y Galaxy Z Flip 4
- Samsung Galaxy Z Flip 4, análisis: más de lo mismo, para lo bueno y lo malo