Icono de Google Maps sobre un atasco

Icono de Google Maps sobre un atasco Pixabay / Google

Noticias y novedades

Adiós a los atascos: Google Maps va a cambiar completamente la manera en la que conduces

Google ha registrado una patente que permitirá a Android Auto y a Google Maps detectar los llamados ‘atascos fantasmas’ en las carreteras.

Publicada

De todas las apps disponibles en Android Auto, Google Maps es probablemente la más popular; podríamos incluso decir que Google Maps en Android Auto es imprescindible para nuestros viajes, por la gran cantidad de funciones que integra y que puede mejorar nuestra experiencia de conducción.

Por ejemplo, Google Maps es capaz de avisarnos de radares a los que nos estemos acercando; o también es capaz de recordar dónde hemos aparcado el coche, para encontrarlo fácilmente con el móvil cuando volvamos.

La nueva función en la que Google está trabajando tiene el potencial de ser incluso más revolucionaria; la compañía quiere eliminar el llamado ‘atasco fantasma’, pero para ello, quiere que confiemos completamente en Google Maps y que sigamos exactamente la velocidad que nos indica.

Google Maps contra los atascos

El ‘atasco fantasma’ se trata de un fenómeno que ocurre cuando los coches de una vía se paran o reducen la velocidad como si hubiese un problema de retención; pero en realidad, no existe ningún motivo para que los conductores se estén comportando de esa manera.

Los atascos fantasmas son incluso más frustrantes que los atascos normales, porque no tienen ninguna razón real; no se producen por culpa de accidentes, ni siquiera por una gran cantidad de coches en un corto periodo de tiempo. Esos son problemas conocidos de la vía, y que tienen su explicación (aunque no siempre solución); en cambio, el atasco fantasma sólo tiene un culpable: los propios conductores.

La patente de Google detalla cómo podría eliminar los atascos

La patente de Google detalla cómo podría eliminar los atascos Google

Un atasco fantasma se produce cuando los conductores reducen su velocidad por razones ajenas al estado de la vía. Puede ser por culpa de distracciones (como paisajes bonitos o incluso carteles de publicidad llamativos), o por maniobras peligrosas como cambios de carril inesperados que no terminan en accidentes pero que provocan que los conductores levanten el pie, lo cual a su vez afecta a los coches de detrás.

Google conoce muy bien estos problemas. Sus investigadores han calculado que el efecto de los atascos fantasma puede crear retrasos de media hora, una hora, o incluso varias horas en los trayectos; y su solución es usar matemáticas y los datos de tráfico para evitarlo.

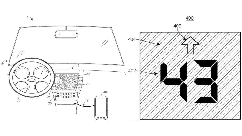
La patente de Google detalla un sistema que indica una velocidad objetivo en el coche

La patente de Google detalla un sistema que indica una velocidad objetivo en el coche Google

La patente detalla un sistema que identifica segmentos de la carretera que han alcanzado un cierto nivel de tráfico, y de calcular la velocidad a la que van esos coches; el sistema sería capaz de enviar esa información a los vehículos que se están acercando a la zona congestionada. En base a esa información, una app como Google Maps sería capaz de mostrar al conductor una “velocidad objetivo” que tendría que seguir.

Esa velocidad se calcularía en base a la distancia del coche respecto a la zona congestionada y a la velocidad de los coches en el atasco, para que el conductor nunca se encuentre el atasco; para cuando lleguemos a la zona, el atasco se habrá disuelto. Los atascos fantasmas no suelen durar mucho, por lo que es mejor reducir la velocidad un poco y no encontrárselo, en vez de tener que frenar casi al completo y volver a acelerar una vez pasado el punto conflictivo.

Por el momento, esta innovación es sólo una patente registrada por Google, pero la compañía ya tiene al menos parte de la tecnología necesaria para hacerla realidad; Google Maps ya es capaz de detectar atascos momentáneos y de mostrarlos en el mapa, por ejemplo.