Si estás harto de los dichosos parasoles, los vinilados que solo dan problemas de homologación o no quedan bien por ahorrar unos cuantos euros, ha llegado la solución del futuro. Y la trae Honda. Han patentado la primera ventana táctil y sensitiva, con la que la luz no volverá a molestar, pues con solo tocarla se podrá oscurecer o aclarar los cristales de tu coche.
¿Qué ventajas supone este invento tan futurista? Para empezar la luz no tendrá que ser siempre tenue debido a llevar los cristales oscurecidos permanentemente. El vehículo podrá contar con ello de fábrica o ser instalado posteriormente. Además se podrá configurar según nuestras necesidades o gusto y ajustar la opacidad a través de un simple gesto con la mano.
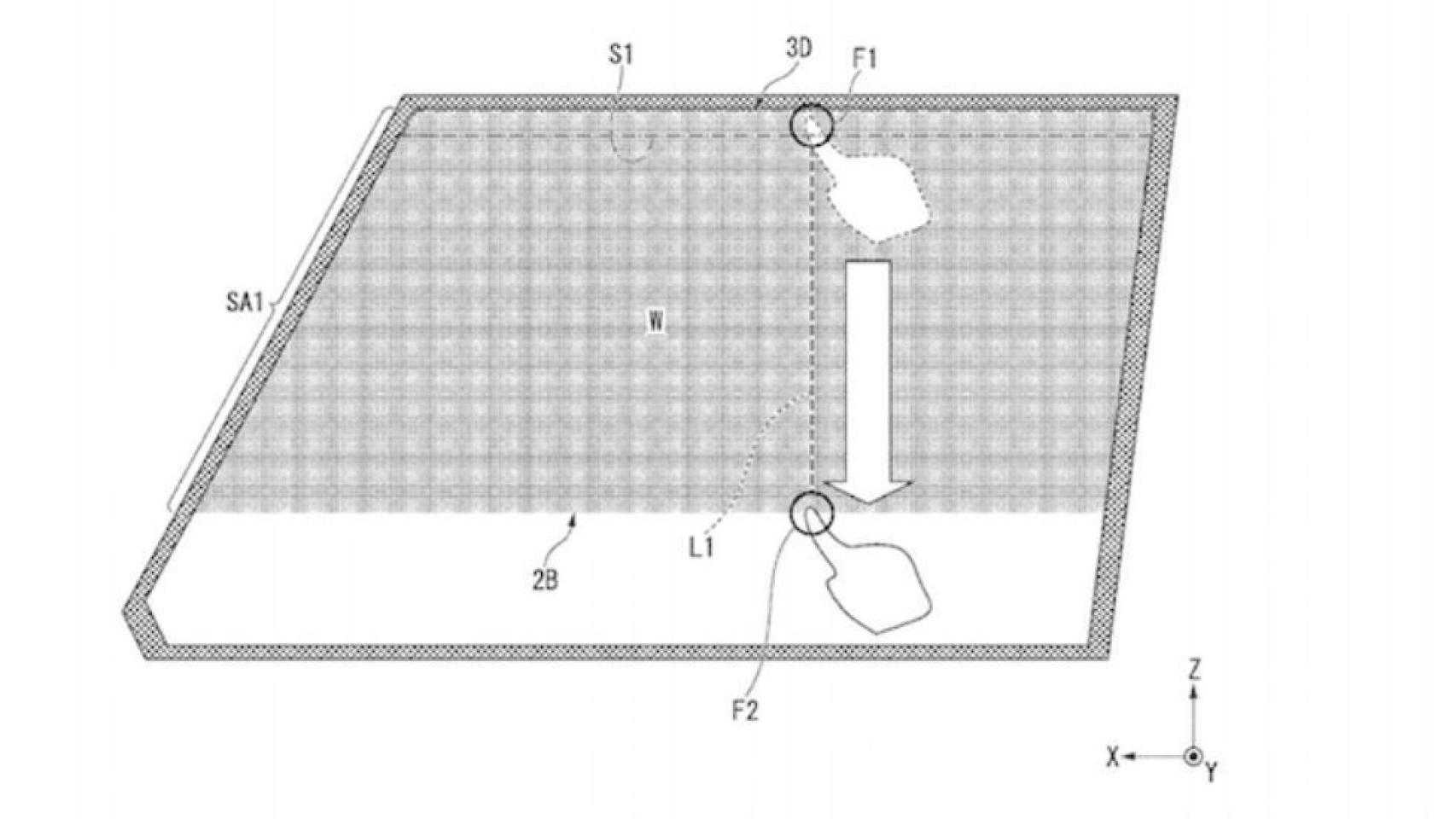
Honda señala que uno de las ventajas es que podríamos oscurecer solo medio cristal a modo de cortina a medias, para no impedir una perfecta visión a través del resto del cristal. ¿El fin de los parasoles? Por si no fuera suficiente, esta tecnología será aplicable a todas las ventanas del coche, incluyendo las lunas delantera o trasera.
Como medida de seguridad, en la patente de la ventana de oscurecimiento táctil de Honda se indica que esta utilidad solo se podrá usar cuando estemos parados con el coche totalmente estacionado. El motivo no es otro que evitar distracciones al volante para usar este sistema en marcha.
El sistema es revolucionario porque se activa y desactiva de manera táctil, pero ya existía antes en otro fabricante algo parecido. Mercedes-Benz utilizaba una tecnología denominada Magic Sky Control con la que se oscurecía el techo de cristal automáticamente. El primer modelo en incorporarlo fue el Mercedes SLK en 2011, y funcionaba cuando las partículas del cristal adaptaban su composición al paso de la luz, dependiendo del voltaje eléctrico que reciban. Así conseguían reducir la entrada de luz y calor.
